网站首页 关于我们 商贸信息 图书库房 订阅查看 行业资讯 展会服务 招聘求职 网站服务 联系我们
设为首页
加入收藏  
会员注册
会员服务
首 页  
行业新闻 | 工艺技术 | 市场信息 | 标准法规 | 网上教程 | 资料查询 | 网上书店 | 企业动态
·设备工装 ·原辅材料 ·循环利用 ·企业管理 ·展会信息 ·供求信息 ·生产安全 ·微信直通车 ·视频展播 ·钢桶杂志 ·专著选登

市场信息:以创新推动可持续发展——探讨中国金属包装涂料的创新和可持续发展之路

  首页-网上教程-电阻焊机的分类,没有你想的啦么简单!电阻焊机的分类,没有你想的啦么简单!-中国钢桶包装网  

 
 

电阻焊机的分类,没有你想的啦么简单!

文/杨柳

电阻焊机的分类

01、按焊接方法分类



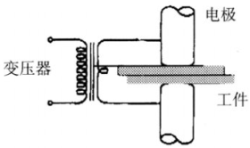
(1)点焊法


利用电极头集中焊接电流的焊接方法。

(2)凹凸法



电极头呈扁平状,通过使非焊物凸起来集中控制焊接电流的焊接方法。

(2)缝焊法


通过使圆板电极一边回转一边连续或断续流过焊接电流的焊接方法。

02、按通电方式●加压方式分类


按通电方式分为:交流式电阻焊机、整流式电阻焊机、电容式电阻焊机、逆变式电阻焊机、低频式电阻焊机。


按加压方式分为:空气加压式、脚踏加压式、手加压式、油压加压式、电动凸轮加压式。

 

本站部分信息由企业自行提供,该企业负责信息内容的真实性、准确性和合法性。中国钢桶包装网对此不承担任何保证责任
关于我们 | 联系我们 | 广告合作 | 付款方式 | 使用帮助 中国钢桶包装网 版权所有
mailto:winlyons@chinadrum.net
【陇ICP备05000400】