|
全自动封头液压机及生产线的研制
文/唐立红
本文介绍了全自动封头液压机及生产线的用途、总体结构、封头拉伸工艺、控制系统与封头生产线的功能特点等。封头生产线实现了封头压制过程的进料、对中、涂油、压制、出料等全自动化,最大化的提高了封头加工效率、质量和减轻了工人的劳动强度。
封头拉伸液压机,适用于金属板材的冷压弯曲、拉伸成形等工艺,是生产大型封头、拉伸圆筒、大型金属容器的专用设备。封头成形件如图1所示。

图1 封头成形件
目前各种成套生产线的研发成为市场的主流,封头液压机生产线是合锻为适应市场需求而研制的。该设备专门用于封头件的自动成形工艺。该生产线的各项技术参数均已达到国际先进水平,远远超过国内同行业的技术水平。该生产线的研发成功,改变了我国目前落后的产品生产工艺,对我国的生产制造业具有极其重要的意义。
生产线的总体结构
封头拉伸液压机及生产线其外形图如图2所示。封头拉伸液压机机身采用四柱或预紧分体框架式结构。一般成形件的封头拉伸液压机采用四柱式,结构简单,经济实用,以四立柱为导向。精度要求较高的封头件采用预应力框架结构,以四角八面平面导轨导向,导向精度高,抗偏载能力强。
封头拉伸液压机及生产线主要由主机、拉伸缸、压边缸、上料装置、对中装置、顶出旋转装置、旋臂机构、下料装置、成品小车、坯料小车、液压系统、电气系统、润滑系统、冷却系统等部分组成。其中主机包括上横梁、下横梁、立柱、螺母、拉伸滑块、压边滑块、移动工作台等。其机身通过16个螺母、四根立柱连接成具有足够刚度和强度的封闭结构,拉杆采用液压预紧方式紧固,确保整机刚性。

图2 封头拉伸液压机外形图
1-保护装置 2-主油箱 3-螺母 4-上横梁 5-拉伸油缸 6-拉伸滑块 7-压边油缸 8-压边滑块 9-立柱 10-旋转装置 11-下料装置12-出料小车 13-移动工作台 14-下横梁 15-顶出旋转装置 16-对中装置 17-送料小车 18-坯料 19-上料装置20-拉伸模具 21-下模具
上横梁内装有主油缸组件,拉伸滑块和压边滑块安装于上下梁之间,拉伸滑块上平面与主油缸组件通过螺栓连接,拉伸滑块下平面安装拉伸模具连接筒,连接筒由快换油缸夹紧,压边缸安装在拉伸滑块内,下端通过法兰连接压边滑块,压边滑块内安装有快换模圈装置。下横梁内装有顶出旋转装置,用于工件拉伸完成后顶出和旋转涂油,在下横梁上平面装有移动工作台及其提升夹紧装置、定位装置、贴合检测装置。立柱与滑块的导向采用合金材料,硬度高,耐磨性好,导向精度高。
拉伸部分采用三缸结构,压边部分通常采用八缸结构。为了实现模具的快速换模,实现柔性生产,液压机设有移动工作台,移动工作台可实现前后移动。移动工作台其驱动方式为自移式,采用变频调速,实现其快速和慢速的转换。
上模快换装置及接筒由内承压筒,中承压筒,外承压筒,夹紧块和液压油缸等组成,通过更换不同的承压筒实现与压边圈不同的组合完成不同规格封头的压制。
上料装置:封头的坯料由送料小车码垛送至上料工位I,通过送料装置将封头的坯料从上料工位I送至上料工位Ⅱ,在该工位实现封头坯料定位后,又将封头坯料送至上料工位Ⅲ实现封头的压制。
定位装置:该装置的主传动齿轮、轴、丝杆、螺母、导向杆等封闭在机身内,在机身的中心安装主电机支架,机架的中部装有冷压封头坯料的自动定中心装置,通过它保证冷压封头坯料的自动定中心。
旋臂机构:通过变频调速电机加减速机和齿轮传动,将它的动力传入旋臂装置,使得该装置绕立柱转动,将成形后的冷压封头从液压机的中部送至液压机外侧。
下料装置:由旋臂机构送至液压机外侧的冷压封头经该装置中的取料机构取出,分别送至下料工位Ⅱ和下料工位Ⅲ,通过质量检测和码垛后由出料小车运出。
封头拉伸液压机液压系统的动力部分由上下三个油箱组成。上油箱布置于上梁后部或置于上梁顶部,为设备拉伸油缸和压边油缸提供动力油。下油箱1置于地面以下,为顶出旋转装置及提升夹紧缸部分提供动力油。下油箱2放置在上料机构上,为上料机构中的油缸提供动力油。
封头拉伸工艺
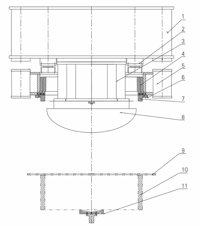
封头拉伸液压机拉伸工艺如图3所示,凸模固定于拉伸滑块上的上模快换装置及接筒上,模圈安装于压边滑块内,根据不同规格工件采用不同规格模圈,压边圈固定于模圈上,凹模固定于移动工作台上,顶出旋转装置固定于下横梁内。

图3 封头拉伸液压机拉伸工艺图示
1-拉伸滑块 2-压边缸 3-上模快换装置及接筒 4-模圈5-压边滑块 6-压边圈安装法兰 7-压边圈 8-凸模9-工件 10-凹模 11-顶出旋转装置
封头拉伸液压机拉伸运动流程图如图4所示,状态一为液压机初始位置,状态二为拉伸滑块和压边滑块在拉伸缸的驱动下一起快速接近工件,状态三为拉伸滑块不动,压边滑块下行压边圈压住工件,状态四为压边滑块不动(有压边力)拉伸滑块下行拉伸工件,状态五为拉伸滑块、压边滑块退回到位,顶起旋转装置顶起工件。其工艺流程为:液压机初始位置→拉伸滑块与压边滑块一起快降→压边滑块单独快降→压边滑块加压→拉伸滑块下行拉伸工件→保压延时及卸压→拉伸滑块压边滑块回程→顶起旋转装置顶起工件→(工件移走后)顶起旋转装置退回。顶起旋转装置顶出起始时间可由滑块的回程中设定的位置激发,以提高工作频次。

图4 封头拉伸液压机拉伸流程图
控制系统
该线的液压系统设计,需要实现对拉伸滑块、压边滑块的压力进行独立控制,保证生产过程中拉伸滑块和压边滑块的压力可实时控制,互不干扰。该机的拉伸、压边、顶出分别设置了独立的液压控制回路,在各回路中设置了压力比例控制阀、压力传感器,通过压力传感器将压力信号转变为电信号传输给PLC,可实现数字显示和压力比例控制,以实现封头成形件的压边和拉伸、顶出等工艺。
为了保证液压系统的稳定性、可靠性、可维护性,液压系统中,在关键部位设有压力检测点。设有可拆卸的压力检测表,通过压力检测点可以快速的诊断液压机出现的故障和监测液压机的工作状态。
本生产线主机、上下模快换系统、上料系统、定位系统、下料系统等采用电动和液压伺服控制等技术,涉及位移传感器、压力传感器、压力继电器、电接点压力表、接近开关、光电开关、电磁阀、比例阀、编码器、油缸、液压马达、伺服电机、变频电机等元器件。采用PLC总线控制,通过彩色触摸屏进行各数据的显示和控制及预设置处理与存储,画面为人机交互式,可在屏幕上非常方便地预先对滑块、压力、时间参数进行数字预置,清晰的显示其行程、压力和时间参数;可以存储模具参数100套,操作简洁;可显示数十条压机工作信息,并采用故障检测、安全保护等一系列先进的自动化控制技术。
结束语
目前公司开发出系列化的封头生产线,热压封头压机总公称力范围为8000kN~150000kN,冷压封头总公称力范围为6300kN~60000kN,其主机的开口高度、滑块行程、工作台面、拉伸压边力等可根据用户需求和压制工艺的需要来确定。公司自主研发的封头生产线实现了封头压制过程的进料、对中、涂油、压制、出料等全自动化,最大化的提高了封头加工效率、质量和减轻了工人的劳动强度。其数控化的操作系统,在操作时只需要输入封头的相关参数就可实现设备的操作,大大的简化了设备的操作。同时通过进出料装置、模具快换装置和主机的数控化操作等一系列的配套,实现了重型封头液压机的全自动控制和操作,得到国内生产厂家的认可。
|