|
【专利介绍】钢桶下线内检装置
文/俞军
申请号:CN202021041812.8
公开号:CN212301352U
IPC分类号:G01N21/88
发明人:俞军;黄永君;张辉
专利权人:上海天昊达化工包装有限公司
摘要
本实用新型公开了一种钢桶下线内检装置,包括安装在钢桶辊道一侧的支架,支架的上端为一水平的横梁,横梁上安装有若干个弹簧伸缩机构,每个弹簧伸缩机构的下端均设置有挂钩;所述支架上设置有内检照明装置、充气装置和桶盖装配装置,内检照明装置、充气装置和桶盖装配装置挂在挂钩上。本实用新型的灵活性好,支架和其他的装置可以随辊道的布局而定,不需要单独的厂地,节约了空间和成本,给企业带来了更大的利润。
权利要求书
1、钢桶下线内检装置,对应钢桶辊道,钢桶在钢桶辊道上传输,其特征在于:
包括安装在钢桶辊道一侧的支架,支架的上端为一水平的横梁,横梁上安装有若干个弹簧伸缩机构,每个弹簧伸缩机构的下端均设置有挂钩;
所述支架上设置有内检照明装置、充气装置和桶盖装配装置,内检照明装置、充气装置和桶盖装配装置挂在挂钩上。
2、根据权利要求1所述的钢桶下线内检装置,其特征在于:所述弹簧伸缩机构包括半包围横梁下部的U形支架,U形支架内设置有固定轴,固定轴在横梁的上方;固定轴上安装有转轮,转轮的下端与横梁的上端接触运动;所述U形支架的下端连接有弹簧外壳,弹簧外壳内设置有扭簧以及与扭簧连接的伸缩带,伸缩带呈盘状;所述伸缩带的下端连接挂钩。
3、根据权利要求1所述的钢桶下线内检装置,其特征在于:所述内检照明装置包括设置在挂钩上的照明座,照明座的下部安装有检验光源。
4、根据权利要求3所述的钢桶下线内检装置,其特征在于:所述检验光源采用的是照明灯。
5、根据权利要求1所述的钢桶下线内检装置,其特征在于:所述充气装置包括安装在支架上的通气金属管,通气金属管挂在挂钩上;所述通气金属管的外侧端部连通外部的空气干燥机。
6、根据权利要求1所述的钢桶下线内检装置,其特征在于:所述桶盖装配装置包括悬挂在挂钩上的气动扭力扳手,气动扭力扳手上安装有旋转轴,旋转轴的端部安装有桶盖安装冶具。
7、根据权利要求6所述的钢桶下线内检装置,其特征在于:所述桶盖安装冶具包括安装在旋转轴端部的安装架,安装架上设置有三个安装脚。
8、根据权利要求7所述的钢桶下线内检装置,其特征在于:所述三个安装脚分别为第一安装脚、第二安装脚和第三安装脚;第一安装脚和第三安装脚为对称安装。
说明书
1、技术领域
本实用新型属于钢桶加工设备领域,更具体地说,涉及一种钢桶下线内检装置。
2、背景技术
钢桶加工的大趋势,是以自动化设备代替人工,但是自动化设备带来的运营成本偏高,并且自动化设备订购贵。自动化设备的安装需要有配套基础设施,更需要高素质的操作人员,企业的生产成本比较高。
钢桶外观的检验项目是需要人进行判断,还是需要检验人员,无需自动化的设备。
鉴于此,我公司开发了一种钢桶下线内检装置,成本小,制造简单可靠,效率高,质量可靠。
3、实用新型内容
针对现有技术存在的不足,本实用新型的目的在于提供了一种钢桶下线内检装置,以解决现有的技术的缺陷。
为实现上述目的,本实用新型提供了如下技术方案:
钢桶下线内检装置,对应钢桶辊道,钢桶在钢桶辊道上传输,其特征在于:包括安装在钢桶辊道一侧的支架,支架的上端为一水平的横梁,横梁上安装有若干个弹簧伸缩机构,每个弹簧伸缩机构的下端均设置有挂钩;所述支架上设置有内检照明装置、充气装置和桶盖装配装置,内检照明装置、充气装置和桶盖装配装置挂在挂钩上。
优化的方案,所述弹簧伸缩机构包括半包围横梁下部的U形支架,U形支架内设置有固定轴,固定轴在横梁的上方;固定轴上安装有转轮,转轮的下端与横梁的上端接触运动;所述U形支架的下端连接有弹簧外壳,弹簧外壳内设置有扭簧以及与扭簧连接的伸缩带,伸缩带呈盘状;所述伸缩带的下端连接挂钩。
优化的方案,所述内检照明装置包括设置在挂钩上的照明座,照明座的下部安装有检验光源。
优化的方案,所述检验光源采用的是照明灯。
优化的方案,所述充气装置包括安装在支架上的通气金属管,通气金属管上安装有气压调节阀;所述的通气金属管挂在挂钩上;所述通气金属管的外侧端部连通外部的空气干燥机。
优化的方案,所述桶盖装配装置包括悬挂在挂钩上的气动扭力扳手,气动扭力扳手上安装有旋转轴,旋转轴的端部安装有桶盖安装冶具。
优化的方案,所述桶盖安装冶具包括安装在旋转轴端部的安装架,安装架上设置有三个安装脚。
优化的方案,所述三个安装脚分别为第一安装脚、第二安装脚和第三安装脚;第一安装脚和第三安装脚为对称安装。
由于采用了上述技术方案,与现有技术相比,本实用新型的有益效果是:
本实用新型的灵活性好,支架和其他的装置可以随辊道的布局而定,不需要单独的厂地,节约了空间和成本,给企业带来了更大的利润。
参照附图和实施例对本实用新型做进一步说明。
4、附图说明
图1为本实用新型一种实施例的整体结构示意图;

图1
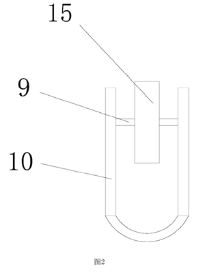
图2为本实用新型一种实施例中弹簧伸缩机构上部的结构示意图;

图3为本实用新型一种实施例中桶盖安装冶具的结构示意图。

5、具体实施方式
实施例:
如图1-3所示,钢桶下线内检装置,对应钢桶辊道1,钢桶13在钢桶辊道1上传输。钢桶下线内检装置包括安装在钢桶辊道一侧的支架2,支架2的上端为一水平的横梁,横梁上安装有若干个弹簧伸缩机构,每个弹簧伸缩机构的下端均设置有挂钩5。
所述支架上设置有内检照明装置、充气装置和桶盖装配装置,内检照明装置、充气装置和桶盖装配装置挂在挂钩5上。
所述弹簧伸缩机构包括半包围横梁下部的U形支架10,U形支架10内设置有固定轴9,固定轴9在横梁的上方。固定轴9上安装有转轮15,转轮15的下端与横梁的上端接触运动。所述U形支架的下端连接有弹簧外壳8,弹簧外壳8内设置有扭簧7以及与扭簧连接的伸缩带6,伸缩带呈盘状。此处借鉴了卷尺的结构。所述伸缩带的下端连接挂钩。
所述内检照明装置包括设置在挂钩上的照明座12,照明座12的下部安装有检验光源11,所述检验光源11采用的是照明灯。所述充气装置包括安装在支架上的通气金属管14,通气金属管14上安装有气压调节阀。所述的通气金属管挂在挂钩上。所述通气金属管的外侧端部连通外部的空气干燥机。
所述桶盖装配装置包括悬挂在挂钩上的气动扭力扳手4,气动扭力扳手4上安装有旋转轴,旋转轴的端部安装有桶盖安装冶具3。
所述桶盖安装冶具3包括安装在旋转轴端部的安装架32,安装架32上设置有三个安装脚。所述三个安装脚分别为第一安装脚33、第二安装脚34和第三安装脚35。第一安装脚和第三安装脚为对称安装。第二安装脚的高度可以高于第一安装脚和第三安装脚,也可以低于第一安装脚和第三安装脚。
下线内检之前,先用通气金属管往钢桶内部进行通气,使得钢桶内部充满干燥空气。然后工作人员利用照明灯进行检测。检测完毕后利用安装冶具进行桶盖的安装。
本实用新型的灵活性好,支架和其他的装置可以随辊道的布局而定,不需要单独的厂地,节约了空间和成本,给企业带来了更大的利润。
以上所述,仅为本实用新型较佳的具体实施方式,但本实用新型的保护范围并不局限于此,任何熟悉本技术领域的技术人员在本实用新型揭露的技术范围内,根据本实用新型的技术方案及其实用新型构思加以等同替换或改变,都应涵盖在本实用新型的保护范围之内。
|