|
【专利介绍】一种钢桶生产用焊接表面处理机
文/吴浩楠
申请号:CN202020139885.4
公开号:CN211545178U
IPC分类号:B65G47/90; B65G15/00
发明人:吴浩楠;扈志波;王波;左有国
专利权人:天津市昌泰机电设备有限公司
摘要
本实用新型公开了一种钢桶生产用焊接表面处理机,包括输送台、第二电机、传动轴和柱状筒,所述输送台的内腔贯穿其两侧壁,其外侧壁固定安装有第一电机,所述输送台内腔中设有主动轴、被动轴和输送带,其侧壁上设有转轴、输送板和两组拉伸杆,所述输送台底壁的两侧均固定焊接有支撑座,两组所述拉伸杆对称安装在输送板的两侧。该钢桶生产用焊接表面处理机,通过设置了柱状筒、第二伸缩杆、支板和橡胶垫,当柱状筒置于钢桶内部之后,两组第二伸缩杆伸长并带动两组橡胶垫与钢桶的内壁贴合,即可利用两组橡胶垫刮下钢桶内壁的氧化皮,由于橡胶垫位置可调,因此适用于不同尺寸的钢桶,增大了适用范围。

权利要求书
1、一种钢桶生产用焊接表面处理机,包括输送台(1)、第二电机(17)、传动轴(18)和柱状筒(19),其特征在于:所述输送台(1)的内腔贯穿其两侧壁,其外侧壁固定安装有第一电机(2),所述输送台(1)内腔中设有主动轴(3)、被动轴(4)和输送带(5),其侧壁上设有转轴(6)、输送板(7)和两组拉伸杆(8),所述输送台(1)底壁的两侧均固定焊接有支撑座(10),两组所述拉伸杆(8)对称安装在输送板(7)的两侧,所述输送台(1)顶壁的两侧均安装有收纳块(11),其上还设有顶梁(14),所述顶梁(14)靠近输送带(5)的一侧竖直安装有升降杆(15),所述升降杆(15)的底壁水平安装有安装板(16),所述第二电机(17)的顶壁与安装板(16)的底壁安装固定,其与传动轴(18)传动连接,所述柱状筒(19)与传动轴(18)的端部焊接固定。
2、根据权利要求1所述的一种钢桶生产用焊接表面处理机,其特征在于:所述主动轴(3)贯穿输送台(1)且与第一电机(2)传动连接,所述被动轴(4)的两侧分别与输送台(1)内壁的两侧传动连接,所述主动轴(3)和被动轴(4)分别安装在输送带(5)的两侧。
3、根据权利要求1所述的一种钢桶生产用焊接表面处理机,其特征在于:所述转轴(6)的两侧分别与输送台(1)内壁的两侧传动连接,所述输送板(7)的侧壁与转轴(6)的外壁安装固定。
4、根据权利要求1所述的一种钢桶生产用焊接表面处理机,其特征在于:所述拉伸杆(8)的两端均安装有滚轴(9),所述拉伸杆(8)通过其中一组滚轴(9)与支撑座(10)传动连接,其通过另一组滚轴(9)与输送板(7)传动连接。
5、根据权利要求1所述的一种钢桶生产用焊接表面处理机,其特征在于:两组所述收纳块(11)的内腔开设在其相向的两侧,其内均设有第一伸缩杆(12),所述第一伸缩杆(12)的两端分别与收纳块(11)内腔的侧壁和夹持板(13)的外侧壁安装固定,所述夹持板(13)共设有两组且均位于输送带(5)上。
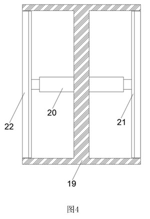
6、根据权利要求1所述的一种钢桶生产用焊接表面处理机,其特征在于:所述柱状筒(19)的内腔对称分布在其两侧,其内腔中设有第二伸缩杆(20)、支板(21)和橡胶垫(22),所述第二伸缩杆(20)的两端分别与柱状筒(19)的内壁和支板(21)的侧壁安装固定,所述橡胶垫(22)与支板(21)远离第二伸缩杆(20)的一侧粘接固定。
说明书
1、技术领域
本实用新型属于钢桶生产技术领域,具体涉及一种钢桶生产用焊接表面处理机。
2、背景技术
钢桶其应用虽然只有一百多年的历史,但随着现代化的钢铁工业的发展,为工农业各部门提供大量钢材,成为各部门现代化生产的基础,广泛使用于工业产品包装、运输包装和销售包装中,钢桶成为量主要的之一。在日本和欧洲各国,钢材中14%左右,仅次于纸和塑料包装,占第三位,而美国包装消费钢材比塑料要多,约占第二位。我国的钢材占总量的8%左右,仅次于塑料。
在工厂内生产出钢桶后,常常需要使用表面处理机将钢桶内壁的氧化皮刮除,但现在已有的表面处理机上的刮除机构大多结构固定而不能调节,因此只能对一种尺寸的钢桶进行处理,导致适用范围较小。
3、实用新型内容
本实用新型的目的在于提供一种钢桶生产用焊接表面处理机,以解决上述背景技术中提出的问题。
为实现上述目的,本实用新型提供如下技术方案:一种钢桶生产用焊接表面处理机,包括输送台、第二电机、传动轴和柱状筒,所述输送台的内腔贯穿其两侧壁,其外侧壁固定安装有第一电机,所述输送台内腔中设有主动轴、被动轴和输送带,其侧壁上设有转轴、输送板和两组拉伸杆,所述输送台底壁的两侧均固定焊接有支撑座,两组所述拉伸杆对称安装在输送板的两侧,所述输送台顶壁的两侧均安装有收纳块,其上还设有顶梁,所述顶梁靠近输送带的一侧竖直安装有升降杆,所述升降杆的底壁水平安装有安装板,所述第二电机的顶壁与安装板的底壁安装固定,其与传动轴传动连接,所述柱状筒与传动轴的端部焊接固定。
优选的,所述主动轴贯穿输送台且与第一电机传动连接,所述被动轴的两侧分别与输送台内壁的两侧传动连接,所述主动轴和被动轴分别安装在输送带的两侧。
优选的,所述转轴的两侧分别与输送台内壁的两侧传动连接,所述输送板的侧壁与转轴的外壁安装固定。
优选的,所述拉伸杆的两端均安装有滚轴,所述拉伸杆通过其中一组滚轴与支撑座传动连接,其通过另一组滚轴与输送板传动连接。
优选的,两组所述收纳块的内腔开设在其相向的两侧,其内均设有第一伸缩杆,所述第一伸缩杆的两端分别与收纳块内腔的侧壁和夹持板的外侧壁安装固定,所述夹持板共设有两组且均位于输送带上。
优选的,所述柱状筒的内腔对称分布在其两侧,其内腔中设有第二伸缩杆、支板和橡胶垫,所述第二伸缩杆的两端分别与柱状筒的内壁和支板的侧壁安装固定,所述橡胶垫与支板远离第二伸缩杆的一侧粘接固定。
本实用新型的技术效果和优点:该钢桶生产用焊接表面处理机,通过设置了柱状筒、第二伸缩杆、支板和橡胶垫,当柱状筒置于钢桶内部之后,两组第二伸缩杆伸长并带动两组橡胶垫与钢桶的内壁贴合,即可利用两组橡胶垫刮下钢桶内壁的氧化皮,由于橡胶垫位置可调,因此适用于不同尺寸的钢桶,增大了适用范围;通过设置了收纳块、第一伸缩杆和夹持板,两组第一伸缩杆伸长并带动两组夹持板固定钢桶的两侧,使钢桶保持稳定,从而使处理钢桶的效果更好;通过设置了转轴、输送板和拉伸杆,两组拉伸杆同时伸缩并带动输送板沿着转轴旋转至合适位置,使钢桶从合适的位置输出,从而便于与下一机构相接,使钢桶的输送更合理。
4、附图说明
图1为本实用新型的整体结构示意图;

图2为本实用新型的收纳块的竖直剖面图;

图3为本实用新型的顶梁的结构示意图;

图4为本实用新型的柱状筒的竖直剖面图。

图中:1输送台、2第一电机、3主动轴、4被动轴、5输送带、6转轴、7输送板、8拉伸杆、9滚轴、10支撑座、11收纳块、12第一伸缩杆、13夹持板、14顶梁、15升降杆、16安装板、17第二电机、18传动轴、19柱状筒、20第二伸缩杆、21支板、22橡胶垫。
5、具体实施方式
下面将结合本实用新型实施例中的附图,对本实用新型实施例中的技术方案进行清楚、完整地描述,显然,所描述的实施例仅仅是本实用新型一部分实施例,而不是全部的实施例。基于本实用新型中的实施例,本领域普通技术人员在没有做出创造性劳动前提下所获得的所有其他实施例,都属于本实用新型保护的范围。
本实用新型提供了如图1-4所示的一种钢桶生产用焊接表面处理机,包括输送台1、第二电机17、传动轴18和柱状筒19,所述输送台1的内腔贯穿其两侧壁,其外侧壁固定安装有第一电机2,所述输送台1内腔中设有主动轴3、被动轴4和输送带5,其侧壁上设有转轴6、输送板7和两组拉伸杆8,所述输送台1底壁的两侧均固定焊接有支撑座10,两组所述拉伸杆8对称安装在输送板7的两侧,所述输送台1顶壁的两侧均安装有收纳块11,其上还设有顶梁14,顶梁14的两端分别与两组收纳块11的顶壁焊接固定,所述顶梁14靠近输送带5的一侧竖直安装有升降杆15,所述升降杆15的底壁水平安装有安装板16,所述第二电机17的顶壁与安装板16的底壁安装固定,其与传动轴18传动连接,所述柱状筒19与传动轴18的端部焊接固定,拉伸杆8、第一伸缩杆12、第二伸缩杆20和升降杆15均由电力驱动其伸缩。
具体的,所述主动轴3贯穿输送台1且与第一电机2传动连接,所述被动轴4的两侧分别与输送台1内壁的两侧传动连接,主动轴3远离第一电机2的一侧与输送台1的内壁传动连接,所述主动轴3和被动轴4分别安装在输送带5的两侧。
具体的,所述转轴6的两侧分别与输送台1内壁的两侧传动连接,所述输送板7的侧壁与转轴6的外壁安装固定。
具体的,所述拉伸杆8的两端均安装有滚轴9,所述拉伸杆8通过其中一组滚轴9与支撑座10传动连接,其通过另一组滚轴9与输送板7传动连接,拉伸杆8伸至最长时,其带动输送板7保持水平(参考图1中输送板7的位置),拉伸杆8收缩最多可带动输送板7移动至与水平线呈45度夹角的位置。
具体的,两组所述收纳块11的内腔开设在其相向的两侧,其内均设有第一伸缩杆12,所述第一伸缩杆12的两端分别与收纳块11内腔的侧壁和夹持板13的外侧壁安装固定,所述夹持板13共设有两组且均位于输送带5上,夹持板13呈“C”字形,实际应用时应在其内侧壁固定粘接一组硅胶垫,使硅胶垫与钢桶直接接触,从而防止夹持板13磨损钢桶。
具体的,所述柱状筒19的内腔对称分布在其两侧,其内腔中设有第二伸缩杆20、支板21和橡胶垫22,所述第二伸缩杆20的两端分别与柱状筒19的内壁和支板21的侧壁安装固定,所述橡胶垫22与支板21远离第二伸缩杆20的一侧粘接固定,第二伸缩杆20收缩可带动橡胶垫22封闭柱状筒19的内腔,从而防止外界的异物进入柱状筒19内腔中。
具体的,该钢桶生产用焊接表面处理机,在使用时,首先将钢桶从输送带5远离输送板7的一侧输入,驱动第一电机2工作带动主动轴3运转,使被动轴4和输送带5随之运转而将钢桶向靠近输送板7的一侧输送,当钢桶置于两组夹持板13之间时,驱动两组第一伸缩杆12伸长并带动两组夹持板13与钢桶的两侧接触而将其固定,由于两组夹持板13内侧壁有一定弧度,因此两组夹持板13相互靠近时,最终使钢桶刚好置于柱状筒19的正下方(此时第一电机2暂停工作),驱动升降杆15伸长并带动柱状筒19下移而伸入钢桶内,使两组第二伸缩杆20伸长带动两组橡胶垫22与钢桶内壁的两侧贴合,之后驱动第二电机17工作带动柱状筒19旋转,使两组橡胶垫22随之旋转而刮除钢桶内壁的氧化皮,当一组钢桶处理完成之后,先使两组第二伸缩杆20收缩,再使升降杆15收缩并带动柱状筒19从钢桶内腔中脱离,此时再驱动第一电机2工作带动钢桶向靠近输送板7的一侧输送,根据需要驱动两组拉伸杆8同时伸缩并带动输送板7沿着转轴6旋转至合适角度,使输送板7与下一处理钢桶的机构相接(并在下一机构中排出钢桶内堆积的氧化皮),从而顺利且平缓地将钢桶从输送板7送至下一机构。
最后应说明的是:以上所述仅为本实用新型的优选实施例而已,并不用于限制本实用新型,尽管参照前述实施例对本实用新型进行了详细的说明,对于本领域的技术人员来说,其依然可以对前述各实施例所记载的技术方案进行修改,或者对其中部分技术特征进行等同替换,凡在本实用新型的精神和原则之内,所作的任何修改、等同替换、改进等,均应包含在本实用新型的保护范围之内。
|