|
水性漆施工对涂装线设备的要求!
文/三哥
【序】
顺应日益严格的环保法规要求,能够降低VOC排放量的水性漆涂装技术得以迅速发展。随着对水性漆工艺研究的不断深入,水性漆的施工窗口不断加宽,施工难度降低,同时水性漆的漆膜质量可与溶剂漆膜相媲美,这些因素均促使水性漆在涂装中的应用越来越广泛。那么结合水性漆的特性和涂装线设计理念,接下来对水性漆涂装线设备进行简要分析。
1. 水性漆特性
图1 为水性色漆和溶剂型色漆组成的对比。


可以看出,水性漆中的大部分组成是纯水(仅含有少量的醇、醚类有机物),水的特性影响了水性漆的施工特性。
水与溶剂漆中甲苯的部分物理性质见表1。
表1 水和甲苯的部分物理性质

2.水性漆对涂装设备的要求
针对水性漆的特性,水性漆涂装线的设计和设备采取了相应的措施,在新规划水性涂装线或对现有涂装线进行改造时,需对某些设备做必要的调整,以适应水性漆的要求。
2.1 喷房
喷房是进行喷涂操作的主要空间,水性漆漆雾中含有的大量纯水和少量助剂,会直接腐蚀喷房内部的结构件。因此喷房房体的壁板材质要求为不锈钢,喷房下部的漆雾捕集装置(如文丘里结构、废漆处理循环水管路等)亦要求全部采用不锈钢制作。
2.2 排气系统
大气污染物综合排放标准(GB 16297-1996 )规定了VOC的排放速率和排放量。溶剂漆喷涂系统中二甲苯的排放速率直接决定着排气筒的高度。采用水性漆后,有机废气中甲苯和二甲苯的含量几乎为0,但非甲烷总烃含量升高,排气筒高度只需满足非甲烷总烃的排放速率要求即可。这样就可以降低排气筒高度,减少了土建施工成本,同时降低了排风机的风压,运行成本也随之降低。
2.3 空调系统
水性漆的施工窗口相对溶剂漆要窄,因此水性漆对喷漆室的温、湿度要求较为严格(见图2)。
图2 水性漆与溶剂型漆施工窗口的比较

水性漆对施工环境的苛刻要求需要空调系统具备制冷和调湿功能,而目前我国溶剂型涂料喷漆室夏季送风很少采用常制冷。水性漆涂装空调系统除温一般先通过表冷段降低空气温度(使空气达到露点析出水分),然后再将析出水分的空气加热到工作温度,加湿则多通过喷淋加湿(雾化加温或蒸气加湿)实现。为此,空调系统需要有表冷段、加湿段,另外,还需要有足够制冷量的制冷机组(一般为溴化锂机组)、冷却塔和冷水循环系统等设备。
在送、排风方面,溶剂漆喷涂时,因排风中的溶剂含量太高,排风不宜重复利用。改用水性漆后,排风中的溶剂含量大大减少,其排风经处理后基本可以用于送风循环使用。所以喷涂室采用水性漆后,采用循环风空调的涂装线不断增加,喷房部分排风与新风混合送入喷房,可节省空调设备的能耗。与以往传统空调设备的结构相比,循环风空调增加了混风段,可以通过风阀自动控制回风量。由于循环风空调内部增加了一道过滤器用以过滤排风中的漆雾,因此循环风空调的长度比传统空调要长。增加一段过滤后,还需要提高相应风机的全压以克服增加的阻力。循环风空调中的有害成分比新风多,所以循环风一般多用于自动段喷涂。目前循环风空调一般都是为自动段送风,人工段还是以送新风居多。
2.4 输调漆系统
水性漆要在5~30℃下储存,调漆间需要具备恒温、恒湿条件,以防止涂料结冰或过热,保证涂料的稳定性。水性漆的施工粘度相对溶剂型漆要高、所需的供漆压力也较高。适用于水性漆系统的隔膜式稳压器采用高压力、高流量直通型设计,隔膜式稳压器应易于清洗,但其价格比用于溶剂型漆的隔膜式稳压器高大约2倍。传统的水夹套式温控系统很难满足水性漆对温度控制精度的要求,应改用管中管温控系统。由于水性涂料只有在一定的pH值范围内才比较稳定,因此水性漆增加了对pH值的控制要求,需增加pH值监控设备。水性涂料的碱性特征使得管路等与涂料直接接触的部件要选用304L或316不锈钢材质,且要进行表面钝化处理。
水性漆清洗系统不像溶剂漆清洗系统那样可以采用单一溶剂进行清洗,水性漆清洗系统的清洗液由纯水和亲水溶剂组成,纯水和亲水溶剂各自用1套气动隔膜泵打到清洗溶剂混合罐中,经搅拌后再由液压泵将混合溶剂打到各使用点。因此,与溶剂漆清洗系统相比,水性漆清洗系统增加了1套纯水泵(含水罐)、1套溶剂泵(含溶剂罐)和1套溶剂液压泵(含溶剂罐和搅拌器等)。由于水性涂料对剪切力比较敏感,所以水性漆输调漆系统的换热器、背压阀需要选用低剪切型的设备。
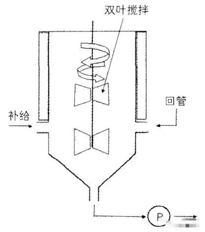
水性输调漆系统采用双叶式搅拌器(见图3) 。回管和涂料补给管均设置在涂料槽底部,搅拌器和涂料槽的材质均选用不锈钢材料。涂料槽应具备高密闭性,防止槽内结皮。不生产时,水性涂料搅拌器的泵频可以调低一半,待上班时再调到正常工作频率,这样可以减少能耗,同时减轻对油漆的剪切作用。
图3 涂料槽双叶搅拌器

总结
随着水性漆的全面使用及其研发技术的不断进展,水性漆的施工窗口会更加扩大,施工工艺也随之更加成熟,油漆利用率和合格率等将不断提高,运行成本、“三废”排放量及处理费用、能源消耗会不断降低,今后水性漆的应用会更加广泛。 |