|
专利介绍 | 一种钢桶扳边胀筋机
文/沈惠峰
申请号:CN202010211240.1
申请日:2020.03.24
公开号:CN111229972A
公开日:2020.06.05
IPC分类号:B21D51/20; B21D43/00; B21D55/00
专利权人:江苏华宇印涂设备集团有限公司
发明人:沈惠峰;费和超;许浩然;丁冰冰
摘要
本发明公开了一种钢桶扳边胀筋机,包括机身,机身中心处设有升降槽,升降槽内设有升降机构,机身两端各设有一个进给机构,两个进给机构相对设置,每个进给机构上均设有一个扳边胀筋机构,两个扳边胀筋机构相对设置,机身顶部设有配合固定机构,配合固定机构与升降机构相对设置;将扳边和胀筋工艺一起进行,采用双胀头来进行胀筋,大大提高了生产效率,通过配合固定机构和抬升后的升降机构配合,实现对铁桶桶身的固定,借助滑轮接触,最大限度地保护了铁桶表面,在机箱上设有缓冲器,防止突发情况下,机箱与机身的碰撞,保护机箱。

权利要求书
1、一种钢桶扳边胀筋机,包括机身(1),其特征在于:所述机身中心处设有升降槽,所述升降槽内设有升降机构(2),
所述机身(1)两端各设有一个进给机构(3),两个所述进给机构(3)相对设置,
每个所述进给机构(3)上均设有一个扳边胀筋机构(4),两个所述扳边胀筋机构(4)相对设置,
所述机身(1)顶部设有配合固定机构(5),所述配合固定机构(5)与所述升降机构(2)相对设置。
2、根据权利要求1所述的钢桶扳边胀筋机,其特征在于:所述升降机构(2)包括升桶气缸(21),
所述升桶气缸(21)顶部设有安装板(22),
所述安装板(22)上设有四个桶身固定座(23),四个所述桶身固定座(23)关于所述安装板(22)的中心对称设置。
3、根据权利要求2所述的钢桶扳边胀筋机,其特征在于:每个所述桶身固定座(23)上设有若干第一滑轮(24)。
4、根据权利要求1所述的钢桶扳边胀筋机,其特征在于:所述进给机构(3)为油缸或液压缸。
5、根据权利要求1所述的钢桶扳边胀筋机,其特征在于:所述扳边胀筋机构(4)包括机箱(41),所述机箱(41)一端与所述进给机构(3)连接,
所述机箱(41)另一端设有扳边机构(42),
所述扳边机构(42)远离所述机箱(41)的一端设有胀筋机构(43)。
6、根据权利要求5所述的钢桶扳边胀筋机,其特征在于:所述扳边机构(42)包括连接盘(421),所述连接盘(421)与所述机箱(41)连接,
所述连接盘(421)远离所述机箱(41)的一端设有扳边模具(422),所述扳边模具(422)与所述连接盘(421)可拆卸连接。
7、根据权利要求5所述的钢桶扳边胀筋机,其特征在于:所述胀筋机构(43)包括连接座(431),所述连接座(431)与所述扳边机构(42)连接,
所述连接座(431)远离所述扳边机构(42)的一端设有胀头(432),
所述胀头(432)远离所述连接座(431)设有凸台圆环(433),所述凸台圆环(433)径面较大的一端与所述胀头(432)连接。
8、根据权利要求5所述的钢桶扳边胀筋机,其特征在于:所述机箱(41)上靠近邻侧所述进给机构(3)的一端的下侧、所述机箱(41)上靠近所述升降机构(2)的一端的下侧均设有缓冲器(44)。
9.、根据权利要求1所述的钢桶扳边胀筋机,其特征在于:所述配合固定机构(5)包括四个配合固定座(51),四个所述配合固定座(51)相对所述升降机构(2)设置在所述机身(1)顶部。
10、根据权利要求9所述的钢桶扳边胀筋机,其特征在于:每个所述配合固定座(51)上均设有若干第二滑轮(52)。
说明书
1、技术领域
本发明涉及钢桶生产技术领域,更具体地说,它涉及一种钢桶扳边胀筋机。
2、背景技术
钢桶制造工艺中,成型的铁板在被制成桶状后,仍需进行扳边、胀筋等工艺;钢桶扳边是指在钢桶配料的侧壁部分上利用模具和机器的作用,进行挤压,使之形成有一定角度的直壁或凸缘的成型方法;钢桶胀筋是指在钢桶桶身上胀出大于桶身直径的圈形凸缘。
普通胀筋机采用单胀头工作的方式,效率较低;胀筋机和扳边机占地较大,且胀筋和扳边在工艺上有重复的步骤;现有机器上缺少一些保护手段,机器有受损的风险。
3、发明内容
针对现有技术存在的不足,本发明的目的在于提供一种钢桶扳边胀筋机,解决上述的一个或多个问题。
为实现上述目的,本发明提供了如下技术方案:
一种钢桶扳边胀筋机,包括机身,所述机身中心处设有升降槽,所述升降槽内设有升降机构,
所述机身两端各设有一个进给机构,两个所述进给机构相对设置,
每个所述进给机构上均设有一个扳边胀筋机构,两个所述扳边胀筋机构相对设置,
所述机身顶部设有配合固定机构,所述配合固定机构与所述升降机构相对设置。
进一步地,所述升降机构包括升桶气缸,
所述升桶气缸顶部设有安装板,
所述安装板上设有四个桶身固定座,四个所述桶身固定座关于所述安装板的中心对称设置。
进一步地,每个所述桶身固定座上设有若干第一滑轮。
进一步地,所述进给机构为油缸或液压缸。
进一步地,所述扳边胀筋机构包括机箱,所述机箱一端与所述进给机构连接,
所述机箱另一端设有扳边机构,
所述扳边机构远离所述机箱的一端设有胀筋机构。
进一步地,所述扳边机构包括连接盘,所述连接盘与所述机箱连接,
所述连接盘远离所述机箱的一端设有扳边模具,所述扳边模具与所述连接盘可拆卸连接。
进一步地,所述胀筋机构包括连接座,所述连接座与所述扳边机构连接,
所述连接座远离所述扳边机构的一端设有胀头,
所述胀头远离所述连接座设有凸台圆环,所述凸台圆环径面较大的一端与所述胀头连接。
进一步地,所述机箱上靠近邻侧所述进给机构的一端的下侧、所述机箱上靠近所述升降机构的一端的下侧均设有缓冲器。
进一步地,所述配合固定机构包括四个配合固定座,四个所述配合固定座相对所述升降机构设置在所述机身顶部。
进一步地,每个所述配合固定座上均设有若干第二滑轮。
综上所述,本发明具有以下有益效果:
(1)将扳边和胀筋工艺一起进行,采用双胀头来进行胀筋,大大提高了生产效率;
(2)通过配合固定机构和抬升后的升降机构配合,实现对铁桶桶身的固定,借助滑轮接触,最大限度地保护了铁桶表面;
(3)在机箱上设有缓冲器,防止突发情况下,机箱与机身的碰撞,保护机箱。
4、附图说明
图1为本发明提供的一种钢桶扳边胀筋机的加工示意图;

图2为本发明提供的一种钢桶扳边胀筋机的正视图;

图3为本发明提供的一种钢桶扳边胀筋机的侧视图;

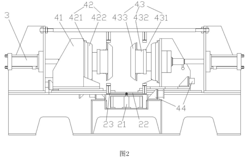
图中:1、机身;2、升降机构;21、升桶气缸;22、安装板;23、桶身固定座;24、第一滑轮;3、进给机构;4、扳边胀筋机构;41、机箱;42、扳边机构;421、连接盘;422、扳边模具;43、胀筋机构;431、连接座;432、胀头;433、凸台圆环;44、缓冲器;5、配合固定机构;51、配合固定座;52、第二滑轮。
5、具体实施方式
实施例:
以下结合附图1-3对本发明作进一步详细说明。
一种钢桶扳边胀筋机,如图1、图2和图3所示,包括机身1,机身1正中心开设有下沉的矩形升降槽,升降槽内设有升降机构2,机身1两端各设有一个进给机构3,进给机构3为油缸或液压缸,两个进给机构3相对设置,每个进给机构3上均设有一个扳边胀筋机构4,两个扳边胀筋机构4相对设置,机身1顶部设有配合固定机构5,配合固定机构5与升降机构2相对设置。
如图1、图2和图3所示,升降机构2包括升桶气缸21,升桶气缸21顶部设有安装板22,安装板22上设有四个桶身固定座23,四个桶身固定座23设置在安装板22的四个角落,且均关于安装板22的中心对称设置,每个桶身固定座23上设有两个第一滑轮24,同一个桶身固定座23上的两个第一滑轮24均沿处于设定工位上的桶身的中性线环形分布。
如图1、图2和图3所示,扳边胀筋机构4包括机箱41,机箱41远离机身1中心的一端与进给机构3连接,机箱41靠近机身1中心的一端设有扳边机构42,扳边机构42远离机箱41的一端设有胀筋机构43。
如图1、图2和图3所示,扳边机构42包括连接盘421,连接盘421与机箱41连接,优选的是两者焊接,连接盘421中心开设有螺纹槽,连接盘421远离机箱41的一端设有扳边模具422,扳边模具422分为扳边侧和连接侧,扳边侧为带有扳边凹槽,连接侧带有螺纹,扳边模具422与连接盘421螺纹连接,可拆卸更换,连接盘421和扳边模具422的连接侧为通用尺寸,不同扳边模具422仅在扳边侧有所区分,方便根据不同直径尺寸的铁桶及时更换扳边模具422。
如图1、图2和图3所示,胀筋机构43包括连接座431,连接座431远离机身1中心的一端与扳边机构42连接,连接座431远离扳边机构42的一端设有胀头432,胀头432远离连接座431的一侧设有凸台圆环433,凸台圆环433径面较大的一端与胀头432连接,凸台圆环433可以防止工位出现偏差时,铁桶沿着凸台圆环433的侧面有一段缓冲,不至于直接损坏铁桶。
如图1、图2和图3所示,机箱41上靠近邻侧进给机构3的一端在下方、机箱41上靠近升降机构2的一端的下方均设有缓冲器44,用以防止在行进过程中,运动的机箱41与机身1内部的机构发送直接擦碰,产生应力性损伤。
如图1、图2和图3所示,配合固定机构5包括四个配合固定座51,四个配合固定座51相对升降机构2设置在机身1顶部,每个配合固定座51上均设有两个第二滑轮52,同一个配合固定座51上的两个第二滑轮52均沿处于设定工位上的桶身的中性线环形分布。
工作原理:升桶气缸21初始处于升降槽的底部,其他工序来料将铁桶输送至升降气缸,铁桶下半侧落置在四个桶身固定座上的第一滑轮24,形成初步的固定,升桶气缸21上升至预设的加工工位,铁桶上半侧抵触在四个配合固定座51上的第二滑轮52,配合固定机构5和升降机构2一起作用,形成一个对铁桶的完整固定效果,进给机构3开始运转,带动扳边胀筋机构4向机身1中心靠拢,胀头432进入铁桶内部,从预设位置开始不断向外张合,沿桶身两端向中心,对铁桶进行胀筋,同时当扳边模具422运行至与铁桶接触时,铁桶的两端嵌入扳边槽,并继续前行,进行挤压,将铁桶两端扳边,扳边工艺的步骤时间完全与胀筋工艺的某段的步骤时间重合,且两端胀头432一齐加工,将胀筋时间缩短一半,加工效率大大提高,铁桶自始至终主要由配合固定机构5和升降机构2固定,扳边胀筋机构4的加工可以顺利进行。
在极少数情况下,工位设定出现了问题,导致机器在运动过程中,发生偏差,机箱41会磕碰机身1,缓冲器44在机箱41将要碰到升降槽槽壁和进给机构3安装侧槽壁时,及时进行缓冲,避免直接碰撞产生损伤。
需要说明的是,本发明实施例中所有使用“第一”和“第二”的表述均是为了区分两个相同名称非相同的实体或者非相同的参量,可见“第一”“第二”仅为了表述的方便,不应理解为对本发明实施例的限定,后续实施例对此不再一一说明。
在本发明的描述中,需要理解的是,如出现术语“中心”、“横向”、“纵向”、“前”、“后”、“左”、“右”、“上”、“下”、“竖直”、“水平”、“顶”、“底”、“内”、“外”等指示的方位或位置关系为基于附图所示的方位或位置关系,仅是为了便于描述本发明和简化描述,而不是指示或暗示所指的装置或元件必须具有特定的方位、以特定的方位构造和操作,因此不能理解为对本发明保护范围的限制。
本具体实施例仅仅是对本发明的解释,其并不是对本发明的限制,本领域技术人员在阅读完本说明书后可以根据需要对本实施例做出没有创造性贡献的修改,但只要在本发明的权利要求范围内都受到专利法的保护。
|