|
【专利】PLC智能全自动控制钢桶丝印机
文/陈木荣
申请号:CN202011551568.4
申请日:2020.12.24
公开(公告)号:CN112644155A
公开(公告)日:2021.04.13
IPC分类号:B41F19/06; B41F19/00; B41F15/08; B41F15/40; B41F15/42; B41F15/18
申请(专利权)人:广东理工学院
发明人:陈木荣;何宇云
【摘要】
本发明公开了PLC智能全自动控制钢桶丝印机,具体涉及钢桶丝印机技术领域,包括底架。本发明通过油墨组件的设置,可使主动齿轮与扇形齿轮啮合传动,从而控制刮板与基准辊的内外不同接触位置,方便刮板将油墨由外向内刮涂到包装制品外表面,使包装制品外表面形成油墨涂层,防止印刷品出现印刷模糊、粘连等情况,大大提高了印刷质量,通过烫金组件的设置,使压板转动向下在放置板上表面拾取烫金纸,后转动向上将烫金纸热压到基准辊左端外壁,使烫金纸在已经形成油墨涂层的包装制品外表面产生强烈亲和力,形成金属层,完成大中型金属包装制品和玻璃包装制品的丝印,使钢桶丝印机耗能低,实用性强,加工印刷效率高。
【摘要附图】

【权利要求书】
1、PLC智能全自动控制钢桶丝印机,包括底架(1),其特征在于:所述底架(1)上部安装有烫金组件(22),所述底架(1)右部安装有油墨组件(40);
所述烫金组件(22)包括承载轴(2),所述承载轴(2)的前端与后端外壁均固定套接有传动盘(3),所述承载轴(2)中部外壁固定套接有基准辊(4),所述底架(1)中部的前壁与后壁上表面均固定连接有立板(5),所述底架(1)左端的前壁与后壁上表面均固定连接有支撑板(6),两块所述支撑板(6)下部间固定连接有放置板(7),两块所述支撑板(6)顶部内壁间均通过卡销(8)转动连接有卡块(9),所述卡块(9)外部设置有连板(10),所述连板(10)内开设有卡槽(11),两块所述连板(10)右端间固定连接有压板(21),两块所述立板(5)上端间转动连接有转轴(12),所述转轴(12)前端与后端外壁均固定套接有支杆(13),两根所述支杆(13)的下端通过卡销(8)转动连接有连杆(14),所述底架(1)右端的前壁与后壁中部分别通过动力轴(15)和卡销(8)转动套接有套筒(16),所述套筒(16)外端转动连接有滑柱(17);
所述油墨组件(40)包括安装板(23),所述安装板(23)中部与右部上表面均固定连接有支柱(24),中部与右部所述支柱(24)上壁分别固定连接有固定块(26)和基准筒(25),所述固定块(26)后部内通过主动轴(27)转动连接有主动齿轮(28),所述固定块(26)前部内通过定位轴(29)转动套接有导向架(30),所述导向架(30)后壁固定连接有扇形齿轮(31),所述导向架(30)前端间转动连接有阶梯筒(32),所述阶梯筒(32)左端的上壁与下壁均固定连接有转座(33),两个所述转座(33)内均通过心轴(34)转动连接有过渡板(35),所述阶梯筒(32)与基准筒(25)内壁间滑动连接有T型架(37),所述T型架(37)前部与后部内均开设有连接槽(38),两个所述连接槽(38)内均滑动连接有刮板(36),所述阶梯筒(32)右壁与基准筒(25)左壁间弹性连接有压力弹簧(39)。
2、根据权利要求1所述的PLC智能全自动控制钢桶丝印机,其特征在于:所述承载轴(2)转动连接在底架(1)的右上部间。
3、根据权利要求1所述的PLC智能全自动控制钢桶丝印机,其特征在于:所述卡槽(11)与卡块(9)滑动连接。
4、根据权利要求1所述的PLC智能全自动控制钢桶丝印机,其特征在于:两根所述支杆(13)的上端通过卡销(8)与连板(10)右部转动连接。
5、根据权利要求1所述的PLC智能全自动控制钢桶丝印机,其特征在于:所述套筒(16)内壁固定连接有限位杆(18),所述限位杆(18)外端通过卡销(8)与连杆(14)右端转动连接。
6、根据权利要求1所述的PLC智能全自动控制钢桶丝印机,其特征在于:两个所述传动盘(3)外壁分别等距开设有八个弧形槽(19)和限位槽(20),所述弧形槽(19)与套筒(16)滑动连接,所述限位槽(20)与滑柱(17)滑动连接。
7、根据权利要求1所述的PLC智能全自动控制钢桶丝印机,其特征在于:所述扇形齿轮(31)后壁与主动齿轮(28)外壁啮合连接。
8、根据权利要求1所述的PLC智能全自动控制钢桶丝印机,其特征在于:所述刮板(36)右壁内端通过心轴(34)与过渡板(35)左端转动连接,所述T型架(37)右部外壁与压力弹簧(39)套接。
【说明书】
PLC智能全自动控制钢桶丝印机
1、技术领域
本发明实施例涉及钢桶丝印机技术领域,具体涉及PLC智能全自动控制钢桶丝印机。
2、背景技术
丝印机的全称为"丝网印刷机",它是通过丝网把焊锡膏或贴片胶漏印到PCB焊盘上的一种设备。可分为垂直丝印机、斜臂丝印机、转盘丝印机、四柱式丝印机及全自动丝印机。主要应用在电子加工行业,印制电路板的丝印标志,仪器外壳面板的标志,电路板加工过程中的焊锡膏印刷等。在丝印特印行业不断发展过程中,从传统的纺织、服装、包装到新兴的太阳能、玻璃、PCB等行业不断过渡发展,这其中应用领域的不断拓展一步步推动着丝印特印走向新的征程。在此过程中,对于高效、环保、节能,以及特种印刷等诸多需求和标准的出现,都在引导着丝印特印行业从手工、半自动的加工到全自动、精密机械的过渡,以实现更大规模,更高水平的产品应用。作为丝印特印行业最重要的设备之一,丝印机技术的发展在这个过程中起着不可估量的作用。
目前,丝印机主要应用在塑料包装制品上,特别是日化塑料包装,如洗面奶、润手霜等方面应用最多。原因是日化包装制品一般都很小,极易以瓶口套入定位,且受的印刷压力小,不易发生变形,保证了印刷的均匀性。而对于大中型金属包装制品和玻璃包装制品,由于需要的印刷压力较大,且烫金工艺难以在金属和玻璃材质制品表面留下痕迹,故在对金属包装制品和玻璃包装制品外表面进行丝印时,需要先在包装制品外表面刷印一层油墨涂层,再在油墨涂层上覆盖烫金纸或烫银纸,热压使烫金纸与包装制品外表面产生强烈亲和力,形成金属层,现有PLC钢桶丝印机难以实现烫金和印刷油墨的双重功能,在加入其它机器辅助印刷的过程中,不仅耗能高,且难以均匀控制印刷速度,使印刷品易出现印刷模糊、粘连等情况,使印刷质量和印刷效率都大大降低,实用性差。
3、发明内容
为此,本发明实施例提供PLC智能全自动控制钢桶丝印机,通过油墨组件的设置,可使主动齿轮与扇形齿轮啮合传动,从而控制刮板与基准辊的内外不同接触位置,方便刮板将油墨由外向内刮涂到包装制品外表面,使包装制品外表面形成油墨涂层,防止印刷品出现印刷模糊、粘连等情况,大大提高了印刷质量,通过烫金组件的设置,使压板转动向下在放置板上表面拾取烫金纸,后转动向上将烫金纸热压到基准辊左端外壁,使烫金纸在已经形成油墨涂层的包装制品外表面产生强烈亲和力,形成金属层,完成大中型金属包装制品和玻璃包装制品的丝印,使钢桶丝印机耗能低,实用性强,加工印刷效率高,以解决现有技术中由于PLC钢桶丝印机难以实现烫金和印刷油墨的双重功能,加入其它机器辅助印刷,耗能高,且难以均匀控制印刷速度,使印刷品易出现印刷模糊、粘连等情况,使印刷质量和印刷效率都大大降低,实用性差的问题。
为了实现上述目的,本发明实施例提供如下技术方案:PLC智能全自动控制钢桶丝印机,包括底架,所述底架上部安装有烫金组件,所述底架右部安装有油墨组件;
所述烫金组件包括承载轴,所述承载轴的前端与后端外壁均固定套接有传动盘,所述承载轴中部外壁固定套接有基准辊,所述底架中部的前壁与后壁上表面均固定连接有立板,所述底架左端的前壁与后壁上表面均固定连接有支撑板,两块所述支撑板下部间固定连接有放置板,两块所述支撑板顶部内壁间均通过卡销转动连接有卡块,所述卡块外部设置有连板,所述连板内开设有卡槽,两块所述连板右端间固定连接有压板,两块所述立板上端间转动连接有转轴,所述转轴前端与后端外壁均固定套接有支杆,两根所述支杆的下端通过卡销转动连接有连杆,所述底架右端的前壁与后壁中部分别通过动力轴和卡销转动套接有套筒,所述套筒外端转动连接有滑柱;
所述油墨组件包括安装板,所述安装板中部与右部上表面均固定连接有支柱,中部与右部所述支柱上壁分别固定连接有固定块和基准筒,所述固定块后部内通过主动轴转动连接有主动齿轮,所述固定块前部内通过定位轴转动套接有导向架,所述导向架后壁固定连接有扇形齿轮,所述导向架前端间转动连接有阶梯筒,所述阶梯筒左端的上壁与下壁均固定连接有转座,两个所述转座内均通过心轴转动连接有过渡板,所述阶梯筒与基准筒内壁间滑动连接有T型架,所述T型架前部与后部内均开设有连接槽,两个所述连接槽内均滑动连接有刮板,所述阶梯筒右壁与基准筒左壁间弹性连接有压力弹簧。
进一步地,所述承载轴转动连接在底架的右上部间。
进一步地,所述卡槽与卡块滑动连接。
进一步地,两根所述支杆的上端通过卡销与连板右部转动连接。
进一步地,所述套筒内壁固定连接有限位杆,所述限位杆外端通过卡销与连杆右端转动连接。
进一步地,两个所述传动盘外壁分别等距开设有八个弧形槽和限位槽,所述弧形槽与套筒滑动连接,所述限位槽与滑柱滑动连接。
进一步地,所述扇形齿轮后壁与主动齿轮外壁啮合连接。
进一步地,所述刮板右壁内端通过心轴与过渡板左端转动连接,所述T型架右部外壁与压力弹簧套接。
本发明实施例具有如下优点:
1)本发明通过油墨组件的设置,与现有技术相比,可利用电机或马达等外部转动动力源带动主动轴转动,从而使主动齿轮与扇形齿轮啮合传动,带动导向架绕定位轴转动倾斜,推动阶梯筒沿T型架滑动向左或向右,可控制过渡板推动刮板沿连接槽滑动向外或拉动刮板沿连接槽滑动向内,从而控制刮板与基准辊的内外不同接触位置,方便刮板将油墨由外向内刮涂到包装制品外表面,使包装制品外表面形成油墨涂层,防止印刷品出现印刷模糊、粘连等情况,大大提高了印刷质量;
2)本发明通过烫金组件的设置,与现有技术相比,可利用电机或马达等外部转动动力源带动动力轴逆时针转动,套筒随之转动,套筒每转动一周滑柱与限位槽滑动连接一次,拨动传动盘与基准辊沿承载轴顺时针转动八分之一圈,油墨经过动力轴的四圈转动形成涂层,同时限位杆转动拉动连杆使支杆绕转轴正反向往复九十度转动,在卡槽与卡块的滑动限制作用下,压板转动向下在放置板上表面拾取烫金纸,后转动向上将烫金纸热压到基准辊左端外壁,使烫金纸在已经形成油墨涂层的包装制品外表面产生强烈亲和力,形成金属层,完成大中型金属包装制品和玻璃包装制品的丝印,使用一个转动动力源同时完成了烫金工艺和对印刷效率的精确控制,使钢桶丝印机耗能低,实用性强,加工印刷效率高。
4、附图说明
为了更清楚地说明本发明的实施方式或现有技术中的技术方案,下面将对实施方式或现有技术描述中所需要使用的附图作简单地介绍。显而易见地,下面描述中的附图仅仅是示例性的,对于本领域普通技术人员来讲,在不付出创造性劳动的前提下,还可以根据提供的附图引伸获得其它的实施附图。
本说明书所绘示的结构、比例、大小等,均仅用以配合说明书所揭示的内容,以供熟悉此技术的人士了解与阅读,并非用以限定本发明可实施的限定条件,故不具技术上的实质意义,任何结构的修饰、比例关系的改变或大小的调整,在不影响本发明所能产生的功效及所能达成的目的下,均应仍落在本发明所揭示的技术内容得能涵盖的范围内。
图1为本发明整体结构示意图;

图1
图2为本发明烫金组件正面结构示意图;

图3为本发明图2中A区域结构放大图;

图4为本发明油墨组件正面结构示意图;

图5为本发明T型架左视结构示意图;

图6为本发明固定块俯视结构示意图;

图7为本发明图6中B区域结构放大图。

图中:1、底架;2、承载轴;3、传动盘;4、基准辊;5、立板;6、支撑板;7、放置板;8、卡销;9、卡块;10、连板;11、卡槽;12、转轴;13、支杆;14、连杆;15、动力轴;16、套筒;17、滑柱;18、限位杆;19、弧形槽;20、限位槽;21、压板;22、烫金组件;23、安装板;24、支柱;25、基准筒;26、固定块;27、主动轴;28、主动齿轮;29、定位轴;30、导向架;31、扇形齿轮;32、阶梯筒;33、转座;34、心轴;35、过渡板;36、刮板;37、T型架;38、连接槽;39、压力弹簧;40、油墨组件。
5、具体实施方式
以下由特定的具体实施例说明本发明的实施方式,熟悉此技术的人士可由本说明书所揭露的内容轻易地了解本发明的其他优点及功效,显然,所描述的实施例是本发明一部分实施例,而不是全部的实施例。基于本发明中的实施例,本领域普通技术人员在没有做出创造性劳动前提下所获得的所有其他实施例,都属于本发明保护的范围。
参照说明书附图1-3,该实施例的PLC智能全自动控制钢桶丝印机,包括底架1,所述底架1上部安装有烫金组件22,所述底架1右部安装有油墨组件40;
所述烫金组件22包括承载轴2,所述承载轴2的前端与后端外壁均固定套接有传动盘3,所述承载轴2中部外壁固定套接有基准辊4,所述底架1中部的前壁与后壁上表面均固定连接有立板5,所述底架1左端的前壁与后壁上表面均固定连接有支撑板6,两块所述支撑板6下部间固定连接有放置板7,两块所述支撑板6顶部内壁间均通过卡销8转动连接有卡块9,所述卡块9外部设置有连板10,所述连板10内开设有卡槽11,两块所述连板10右端间固定连接有压板21,两块所述立板5上端间转动连接有转轴12,所述转轴12前端与后端外壁均固定套接有支杆13,两根所述支杆13的下端通过卡销8转动连接有连杆14,所述底架1右端的前壁与后壁中部分别通过动力轴15和卡销8转动套接有套筒16,所述套筒16外端转动连接有滑柱17。
进一步地,所述承载轴2转动连接在底架1的右上部间,为基准辊4和两个传动盘3均提供了安装点。
进一步地,所述卡槽11与卡块9滑动连接,便于对连板10的运动路线进行限制。
进一步地,两根所述支杆13的上端通过卡销8与连板10右部转动连接,使两根支杆13的转动倾斜可带动连板10运动。
进一步地,所述套筒16内壁固定连接有限位杆18,所述限位杆18外端通过卡销8与连杆14右端转动连接,使套筒16的转动能带动限位杆18与连杆14联动。
进一步地,两个所述传动盘3外壁分别等距开设有八个弧形槽19和限位槽20,所述弧形槽19与套筒16滑动连接,所述限位槽20与滑柱17滑动连接,使套筒16每逆时针转动一周滑柱17与限位槽20滑动连接一次,拨动传动盘3与基准辊4沿承载轴2顺时针转动八分之一圈。
实施场景具体为:在进行烫金时,可利用电机或马达等外部转动动力源带动动力轴15逆时针转动,套筒16随之转动,套筒16每转动一周滑柱17与限位槽20滑动连接一次,拨动传动盘3与基准辊4沿承载轴2顺时针转动八分之一圈,油墨经过动力轴15的四圈转动形成涂层,同时限位杆18转动拉动连杆14使支杆13绕转轴12正反向往复九十度转动,在卡槽11与卡块9的滑动限制作用下,压板21转动向下在放置板7上表面拾取烫金纸,后转动向上将烫金纸热压到基准辊4左端外壁,使烫金纸在已经形成油墨涂层的包装制品外表面产生强烈亲和力,形成金属层,完成大中型金属包装制品和玻璃包装制品的丝印,使用一个转动动力源同时完成了烫金工艺和对印刷效率的精确控制,使钢桶丝印机耗能低,实用性强,加工印刷效率高,该实施方式具体解决了现有技术中PLC钢桶丝印机难以实现烫金和印刷油墨的双重功能,在加入其它机器辅助印刷的过程中,不仅耗能高,且难以均匀控制印刷速度,使印刷效率都大大降低,实用性差的问题。
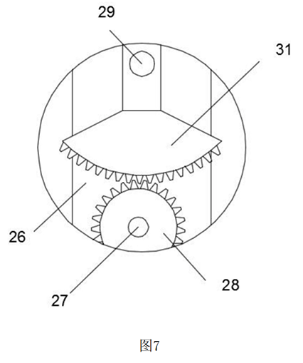
参照说明书附图4-7,该实施例的PLC智能全自动控制钢桶丝印机,所述油墨组件40包括安装板23,所述安装板23中部与右部上表面均固定连接有支柱24,中部与右部所述支柱24上壁分别固定连接有固定块26和基准筒25,所述固定块26后部内通过主动轴27转动连接有主动齿轮28,所述固定块26前部内通过定位轴29转动套接有导向架30,所述导向架30后壁固定连接有扇形齿轮31,所述导向架30前端间转动连接有阶梯筒32,所述阶梯筒32左端的上壁与下壁均固定连接有转座33,两个所述转座33内均通过心轴34转动连接有过渡板35,所述阶梯筒32与基准筒25内壁间滑动连接有T型架37,所述T型架37前部与后部内均开设有连接槽38,两个所述连接槽38内均滑动连接有刮板36,所述阶梯筒32右壁与基准筒25左壁间弹性连接有压力弹簧39。
进一步地,所述扇形齿轮31后壁与主动齿轮28外壁啮合连接,使主动齿轮28的转动可带动扇形齿轮31联动,从而使导向架30绕定位轴29左右转动倾斜。
进一步地,所述刮板36右壁内端通过心轴34与过渡板35左端转动连接,所述T型架37右部外壁与压力弹簧39套接,压力弹簧39便于在阶梯筒32向左或向右滑动时,对阶梯筒32进行拉动和反弹。
实施场景具体为:在进行油墨印刷时,可利用电机或马达等外部转动动力源带动主动轴27转动,从而使主动齿轮28与扇形齿轮31啮合传动,带动导向架30绕定位轴29转动倾斜,推动阶梯筒32沿T型架37滑动向左或向右,可控制过渡板35推动刮板36沿连接槽38滑动向外或拉动刮板36沿连接槽38滑动向内,从而控制刮板36与基准辊4的内外不同接触位置,方便刮板36将油墨由外向内刮涂到包装制品外表面,使包装制品外表面形成油墨涂层,防止印刷品出现印刷模糊、粘连等情况,大大提高了印刷质量,该实施方式具体解决了现有技术中PLC钢桶丝印机使印刷品易出现印刷模糊、粘连等情况,使印刷质量大大降低的问题。
虽然,上文中已经用一般性说明及具体实施例对本发明作了详尽的描述,但在本发明基础上,可以对之作一些修改或改进,这对本领域技术人员而言是显而易见的。因此,在不偏离本发明精神的基础上所做的这些修改或改进,均属于本发明要求保护的范围。
|