|
【专利介绍】一种钢桶下线内检装置
文/天昊达
申请号:CN202122161338.3
申请日:2021.09.08
公开(公告)号:CN215678151U
公开(公告)日:2022.01.28
IPC分类号:G01N21/94; G01N21/01
申请(专利权)人:上海天昊达化工包装有限公司
发明人:张辉;俞军
【摘要】
本实用新型提供了一种钢桶下线内检装置,涉及钢桶自动化生产技术领域,所述钢桶下线内检装置包括支架,支架的上端安装有第一气缸;第一气缸的活动端连接安装架;安装架设置在第一气缸的下方;安装架滑动连接竖直方向的导向杆;导向杆固定在支架上;安装架内安装有伺服电机;伺服电机的活动端固定连接第一连接板;第一连接板设置在伺服电机的下方;第一连接板上设有倒U型的安装槽;安装槽内安装有第一转轴。本实用新型的钢桶下线内检装置可以从钢桶中心处进行拍照,全方位的对钢桶进行内检;结构简单、设计合理、自动化程度高;可有效解决人工内检效率低;容易错检的问题。

【权利要求书】
1、一种钢桶下线内检装置,其特征在于,所述钢桶下线内检装置包括支架,支架的上端安装有第一气缸;第一气缸的活动端连接安装架;安装架设置在第一气缸的下方;安装架滑动连接竖直方向的导向杆;导向杆固定在支架上;安装架内安装有伺服电机;伺服电机的活动端固定连接第一连接板;第一连接板设置在伺服电机的下方;第一连接板上设有倒U型的安装槽;安装槽内安装有第一转轴;第一转轴转动连接有第二连接板;第二连接板的上端安装有马达;马达的活动端连接安装板;安装板上安装有探照灯和摄像头;第一转轴的下方设有与第二连接板的侧面固定的连接耳;连接耳上设有固定连接的第二转轴;第二转轴转动连接连接杆;连接杆固定在第二气缸的活动端;第二气缸转动连接顶板;顶板固定在伺服电机的活动端。
2、根据权利要求1所述的一种钢桶下线内检装置,其特征在于,所述探照灯和摄像头连接分析显示控制器。
3、根据权利要求2所述的一种钢桶下线内检装置,其特征在于,所述分析显示控制器连接有声光报警器。
4、根据权利要求3所述的一种钢桶下线内检装置,其特征在于,所述导向杆设有四个。
【说明书】
一种钢桶下线内检装置
1、技术领域
本实用新型涉及钢桶自动化生产技术领域,尤其涉及一种钢桶下线内检装置。
2、背景技术
钢桶的自动化生产过程中,钢桶加工完成后需要进行内检;内检的目的是检查钢桶内部是否被污染或者存在异物。现有的内检方法是人工拉动检测灯进入钢桶的大丝口,然后人工进行检查。人工检查长时间容易造成视觉疲劳;出现错检的情况。
随着钢桶自动化加工的生产趋势;需要一种代替人工的自动化的内检装置。
3、实用新型内容
本实用新型的目的在于提供一种钢桶下线内检装置,以解决上述技术问题。
为实现上述目的,本实用新型所述的一种钢桶下线内检装置,包括支架,支架的上端安装有第一气缸;第一气缸的活动端连接安装架;安装架设置在第一气缸的下方;安装架滑动连接竖直方向的导向杆;导向杆固定在支架上;安装架内安装有伺服电机;伺服电机的活动端固定连接第一连接板;第一连接板设置在伺服电机的下方;第一连接板上设有倒U型的安装槽;安装槽内安装有第一转轴;第一转轴转动连接有第二连接板;第二连接板的上端安装有马达;马达的活动端连接安装板;安装板上安装有探照灯和摄像头;第一转轴的下方设有与第二连接板的侧面固定的连接耳;连接耳上设有固定连接的第二转轴;第二转轴转动连接连接杆;连接杆固定在第二气缸的活动端;第二气缸转动连接顶板;顶板固定在伺服电机的活动端。
进一步地,所述探照灯和摄像头连接分析显示控制器。
更进一步地,所述分析显示控制器连接有声光报警器。
此外,所述导向杆设有四个。
本实用新型的钢桶下线内检装置可以将摄像头从钢桶的大丝口伸进钢桶内;配合探照灯对钢桶的内部进行拍照,并通过分析显示控制器对拍的照片进行分析和显示;通过分析发现钢桶内存在异物或者污染时,触发声光报警器。通过特殊的结构设计,可以将摄像头和探照灯送到钢桶的中心处;对钢桶进行全方位的检查。
有益效果:
本实用新型的钢桶下线内检装置可以从钢桶中心处进行拍照,全方位的对钢桶进行内检;结构简单、设计合理、自动化程度高;可有效解决人工内检效率低;容易错检的问题。
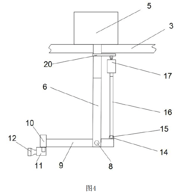
4、附图说明
图1为本实用新型钢桶下线内检装置的结构示意图。

图2为本实用新型摄像头和探照灯的安装结构正视示意图。

图3为本实用新型摄像头和探照灯的安装结构侧视示意图。

图4为本实用新型第一连接板与第二连接板呈90°夹角打开时的状态示意图。

5、具体实施方式
为使本实用新型的目的、技术方案和优点更加清楚,下面将结合本实用新型的附图,对本实用新型实施例中的技术方案进行清楚、完整地描述,显然,所描述的实施例是本实用新型的一部分实施例,而不是全部的实施例。基于本实用新型中的实施例,本领域普通技术人员在没有作出创造性劳动前提下所获得的所有其他实施例,都属于本实用新型保护的范围。除非另外定义,此处使用的技术术语或者科学术语应当为本实用新型所属领域内具有一般技能的人士所理解的通常意义。本文中使用的“包括”等类似的词语意指出现该词前面的元件或者物件涵盖出现在该词后面列举的元件或者物件及其等同,而不排除其他元件或者物件。
针对现有技术存在的问题,本实用新型的实施例提供了钢桶下线内检装置。
实施例:
如图1-4所示,一种钢桶下线内检装置,包括支架1,支架1的上端安装有第一气缸2;第一气缸2的活动端连接安装架3;安装架3设置在第一气缸2的下方;安装架3滑动连接竖直方向的导向杆4;导向杆4固定在支架1上;安装架3内安装有伺服电机5;伺服电机5的活动端固定连接第一连接板6;第一连接板6设置在伺服电机5的下方;第一连接板6上设有倒U型的安装槽7;安装槽7内安装有第一转轴8;第一转轴8转动连接有第二连接板9;第二连接板9的上端安装有马达10;马达10的活动端连接安装板11;安装板11上安装有探照灯12和摄像头13;第一转轴8的下方设有与第二连接板9的侧面固定的连接耳14;连接耳14上设有固定连接的第二转轴15;第二转轴15转动连接连接杆16;连接杆16固定在第二气缸17的活动端;第二气缸17转动连接顶板20;顶板20固定在伺服电机5的活动端。
所述探照灯12和摄像头13连接分析显示控制器18;所述分析显示控制器18连接有声光报警器19;导向杆4设有四个。
本实用新型的钢桶下线内检装置工作时,首先将第二连接板9收拢在第一连接板6的安装槽7内(如图2所示);在支架1下方放置钢桶;驱动第一气缸2;第一气缸2带动安装架3下降;从而将摄像头13、探照灯12、第一连接板6、第二连接板9以及马达10从钢桶的大丝口伸进钢桶内;驱动第二气缸17;第二气缸17拉动连接杆16;连接杆16拉动第二连接板9饶第一转轴8转动并打开;图4为打开至第一连接板和第二连接板9呈直角状态;继续驱动第二气缸17还可以进一步增大夹角;再通过伺服电机5旋转调整第二连接板9前方的摄像头13的位置;通过控制第二连接板9的长度,还可以实现将摄像头13调节到钢桶正中心位置;方便对桶内的任何方位进行观察;探照灯12可以提供摄像头13拍照需要的光源;马达10可以调整摄像头13的方向。摄像头13拍照后,分析显示控制器18对于拍的照片进行分析,如果存在污染物或者异物,通过声光报警器19发出警报。
虽然在上文中详细说明了本实用新型的实施方式,但是对于本领域的技术人员来说显而易见的是,能够对这些实施方式进行各种修改和变化。但是,应理解,这种修改和变化都属于权利要求书中所述的本实用新型的范围和精神之内。而且,在此说明的本实用新型可有其它的实施方式,并且可通过多种方式实施或实现。
|