|
【专利介绍】一种钢桶全自动码垛机
文/曲建波
申请号:202220759266 .4
申请日:2022 .04 .01
专利权人:淄博齐鲁包装制品有限公司发明人
曲建波:薛俊杰 武洪
【摘要】
本实用新型提供一种钢桶全自动码垛机,涉及钢桶码垛技术领域,包括两个固定座,两个所述固定座之间固定连接有两个滑杆,所述固定座外表面固定连接有第一电机,所述第一电机驱动端贯穿固定座,且第一电机驱动端固定连接有第一螺纹杆,所述第一螺纹杆外表面螺纹连接有第一滑动座,所述第一滑动座外表面靠近底部位置固定连接有支撑板,本实用新型启动第一电机,带动第一螺纹杆转动,从而带动第一滑动座沿着滑杆进行滑动,将吸盘运输至工作钢桶顶部,随后启动第二电机,带动第二螺纹杆转动,从而带动第二滑动座沿着限位槽进行滑动,使得吸盘下降,配合吸盘将钢桶吸附,随后上升,进行运输码垛,其采用机械进行码垛,码垛成本大大降低,码垛效率高。

【权利要求书】
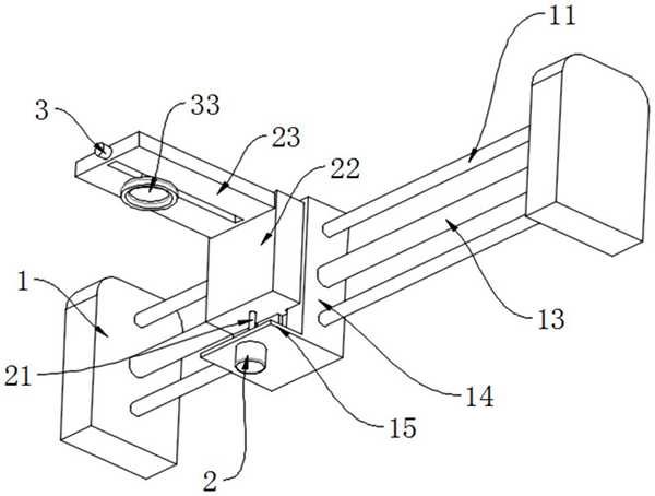
1、一种钢桶全自动码垛机,包括两个固定座(1),其特征在于:两个所述固定座(1)之间固定连接有两个滑杆(11),所述固定座(1)外表面固定连接有第一电机(12),所述第一电机(12)驱动端贯穿固定座(1),且第一电机(12)驱动端固定连接有第一螺纹杆(13),所述第一螺纹杆(13)外表面螺纹连接有第一滑动座(14),所述第一滑动座(14)外表面靠近底部位置固定连接有支撑板(15),所述第一滑动座(14)外表面靠近支撑板(15)位置对称开设有限位槽(16);
所述固定座(1)下表面固定连接有第二电机(2),所述第二电机(2)驱动端贯穿固定座(1),且第二电机(2)驱动端固定连接有第二螺纹杆(21),所述第二螺纹杆(21)外表面螺纹连接有第二滑动座(22) ,所述第二滑动座(22)前表面靠近顶部位置固定连接有固定板(23),所述固定板(23)上表面开设有滑槽(24);
所述固定板(23)外表面固定连接有第三电机(3),所述第三电机(3)驱动端固定连接有第三螺纹杆(31),所述第三螺纹杆(31)外表面螺纹连接有滑动块(32),所述滑动块(32)下表面固定连接有吸盘(33)。
2、根据权利要求1所述的钢桶全自动码垛机,其特征在于:两个所述滑杆(11)呈平行设置,所述第一螺纹杆(13)位于两个滑杆(11)之间。
3、根据权利要求1所述的钢桶全自动码垛机,其特征在于:两个所述滑杆(11)贯穿第一滑动座(14),且两个滑杆(11)外表面与第一滑动座(14)内表面滑动连接。
4、根据权利要求2所述的钢桶全自动码垛机,其特征在于:所述第一螺纹杆(13)与两个滑杆(11)呈平行设置,所述第一螺纹杆(13)远离第一电机(12)的端面与固定座(1)转动连接。
5、根据权利要求1所述的钢桶全自动码垛机,其特征在于:所述第二滑动座(22)后表面对称固定连接有限位块,且限位块外表面与限位槽(16)内表面滑动连接。
6、根据权利要求1所述的钢桶全自动码垛机,其特征在于:所述第三螺纹杆(31)端面与滑槽(24)内表面转动连接,所述滑动块(32)外表面与滑槽(24)内表面滑动连接。
【说明书】
1、技术领域
本实用新型涉及钢桶码垛技术领域,尤其涉及一种钢桶全自动码垛机。
2、背景技术
钢桶是传统容器之一,在传统容器中占有很重要的地位。钢桶从暂时贮存内装物品的机能演变到今天的工业包装、销售包装、运输包装等;从生产到流通、消费形成一贯流动容器,成了长期保存内装物品的手段,可以说钢桶给人类的工作和生活带来了很大的变革和进步。现有的钢桶进行装料前,大多采用人工进行码垛,其码垛效率低,人工费用高,工作成本高,为此我们提出一种钢桶全自动码垛机。
3、实用新型内容
本实用新型的目的是为了解决现有的钢桶进行装料前,大多采用人工进行码垛,其码垛效率低,人工费用高,工作成本高的问题,而提出的一种钢桶全自动码垛机。
为了实现上述目的,本实用新型采用了如下技术方案:一种钢桶全自动码垛机,包括两个固定座,两个所述固定座之间固定连接有两个滑杆,所述固定座外表面固定连接有第一电机,所述第一电机驱动端贯穿固定座,且第一电机驱动端固定连接有第一螺纹杆,所述第一螺纹杆外表面螺纹连接有第一滑动座,所述第一滑动座外表面靠近底部位置固定连接有支撑板,所述第一滑动座外表面靠近支撑板位置对称开设有限位槽;
所述固定座下表面固定连接有第二电机,所述第二电机驱动端贯穿固定座,且第二电机驱动端固定连接有第二螺纹杆,所述第二螺纹杆外表面螺纹连接有第二滑动座,所述第二滑动座前表面靠近顶部位置固定连接有固定板,所述固定板上表面开设有滑槽;
所述固定板外表面固定连接有第三电机,所述第三电机驱动端固定连接有第三螺纹杆,所述第三螺纹杆外表面螺纹连接有滑动块,所述滑动块下表面固定连接有吸盘。
优选的,两个所述滑杆呈平行设置,所述第一螺纹杆位于两个滑杆之间。优选的,两个所述滑杆贯穿第一滑动座,且两个滑杆外表面与第一滑动座内表面滑动连接。
优选的,所述第一螺纹杆与两个滑杆呈平行设置,所述第一螺纹杆远离第一电机的端面与固定座转动连接。优选的,所述第二滑动座后表面对称固定连接有限位块,且限位块外表面与限位槽内表面滑动连接。
优选的,所述第三螺纹杆端面与滑槽内表面转动连接,所述滑动块外表面与滑槽内表面滑动连接。
与现有技术相比,本实用新型的优点和积极效果在于,
(1)本实用新型提出一种钢桶全自动码垛机,其进行码垛时,首先启动第一电机,带动第一螺纹杆转动,从而带动第一滑动座沿着滑杆进行滑动,将吸盘运输至工作钢桶顶部,随后启动第二电机,带动第二螺纹杆转动,从而带动第二滑动座沿着限位槽进行滑动,使得吸盘下降,配合吸盘将钢桶吸附,随后上升,进行运输码垛,其采用机械进行码垛,码垛成本大大降低,码垛效率高。
(2)本实用新型提出一种钢桶全自动码垛机,其通过启动第三电机带动第三螺纹杆转动,从而带动滑动块沿着滑槽进行滑动,从而调节吸盘的工作范围,从而提升码垛的高效性。
4、附图说明
图1为本实用新型提出一种钢桶全自动码垛机的立体结构示意图;

图2为本实用新型提出一种钢桶全自动码垛机的仰视结构示意图;

图3为本实用新型提出一种钢桶全自动码垛机的俯视结构示意图。

图例说明:1、固定座;11、滑杆;12、第一电机;13、第一螺纹杆;14、第一滑动座;15、支撑板;16、限位槽;2、第二电机;21、第二螺纹杆;22、第二滑动座;23、固定板;24、滑槽;3、第三电机;31、第三螺纹杆;32、滑动块;33、吸盘。
5、具体实施方式
为了能够更清楚地理解本实用新型的上述目的、特征和优点,下面结合附图和实施例对本实用新型做进一步说明。需要说明的是,在不冲突的情况下,本申请的实施例及实施例中的特征可以相互组合。
在下面的描述中阐述了很多具体细节以便于充分理解本实用新型,但是,本实用新型还可以采用不同于在此描述的其他方式来实施,因此,本实用新型并不限于下面公开说明书的具体实施例的限制。
实施例1,如图1‑3所示,一种钢桶全自动码垛机,包括两个固定座1,两个固定座1之间固定连接有两个滑杆11,固定座1外表面固定连接有第一电机12,第一电机12驱动端贯穿固定座1,且第一电机12驱动端固定连接有第一螺纹杆13,第一螺纹杆13外表面螺纹连接有第一滑动座14,第一滑动座14外表面靠近底部位置固定连接有支撑板15,第一滑动座14外表面靠近支撑板15位置对称开设有限位槽16;固定座1下表面固定连接有第二电机2,第二电机2驱动端贯穿固定座1,且第二电机2驱动端固定连接有第二螺纹杆21,第二螺纹杆21外表面螺纹连接有第二滑动座22,第二滑动座22前表面靠近顶部位置固定连接有固定板23,固定板23上表面开设有滑槽24。
其整个实施例1达到的效果为,通过两个滑杆11对第一滑动座14进行限位,进行水平位置的调节,确保工作的稳定性,启动第一电机12,带动第一螺纹杆13转动,从而带动第一滑动座14沿着滑杆11进行滑动,将吸盘33运输至工作钢桶顶部,随后启动第二电机2,带动第二螺纹杆21转动,从而带动第二滑动座22沿着限位槽进行滑动,使得调节吸盘33工作高度,配合吸盘33将钢桶吸附,随后上升,进行运输码垛,其采用机械进行码垛,码垛成本大大降低,码垛效率高。
实施例2,如图1‑3所示,固定板23外表面固定连接有第三电机3,第三电机3驱动端固定连接有第三螺纹杆31,第三螺纹杆31外表面螺纹连接有滑动块32,滑动块32下表面固定连接有吸盘33,两个滑杆11呈平行设置,第一螺纹杆13位于两个滑杆11之间,两个滑杆11贯穿第一滑动座14,且两个滑杆11外表面与第一滑动座14内表面滑动连接,第一螺纹杆13与两个滑杆11呈平行设置,第一螺纹杆13远离第一电机12的端面与固定座1转动连接,第二滑动座22后表面对称固定连接有限位块,且限位块外表面与限位槽16内表面滑动连接,第三螺纹杆31端面与滑槽24内表面转动连接,滑动块32外表面与滑槽24内表面滑动连接。
其整个实施例2达到的效果为,其中吸盘33配套设置有工作组件,其在图中并未展示出,工作组件组件起到配合吸盘33进行吸附和释放的作用,其在第二滑动座22后表面设置有限位块,通过限位块与限位槽16进行滑动,从而限定第二滑动座22进行滑动,进行高度的调节,并确保运行稳定性,启动第三电机3带动第三螺纹杆31转动,从而带动滑动32块沿着滑槽24进行滑动,从而调节吸盘33的工作范围,从而提升码垛的高效性。
工作原理,进行码垛工作时,启动第一电机12,带动第一螺纹杆13转动,从而带动第一滑动座14沿着滑杆11进行滑动,将吸盘33运输至工作钢桶顶部,随后启动第二电机2,带动第二螺纹杆21转动,从而带动第二滑动座22沿着限位槽进行滑动,使得调节吸盘33工作高度,配合吸盘33将钢桶吸附,随后上升,进行运输码垛,配合启动启动第三电机3带动第三螺纹杆31转动,从而带动滑动32块沿着滑槽24进行滑动,从而调节吸盘33的工作范围,其采用机械进行码垛,码垛成本大大降低,码垛效率高,从而提升码垛的高效性。
本实用新型中的第一电机12、第二电机2、第三电机3和吸盘33的接线图属于本领域的公知常识,其工作原理是已经公知的技术,其型号根据实际使用选择合适的型号,所以对第一电机12、第二电机2、第三电机3和吸盘33不再详细解释控制方式和接线布置。
以上所述,仅是本实用新型的较佳实施例而已,并非是对本实用新型作其它形式的限制,任何熟悉本专业的技术人员可能利用上述揭示的技术内容加以变更或改型为等同变化的等效实施例应用于其它领域,但是凡是未脱离本实用新型技术方案内容,依据本实用新型的技术实质对以上实施例所作的任何简单修改、等同变化与改型,仍属于本实用新型技术方案的保护范围。
|