|
【专利介绍】一种钢桶全自动激光焊接设备
申请号:CN202211023437
申请日:2022.08.25
公开(公告)日:2022.09.27;2022.12.09
ipc分类号:B23K26/21
申请(专利权)人:苏州贝氏包装科技有限公司
发明人:贝国平
【摘要】
本发明涉及桶焊接设备技术领域,特别涉及一种钢桶全自动焊接设备;本发明包括焊接机构、具有第一待焊接端及第二待焊接端的卷料,焊接机构包括定位机构,定位机构包括:底座及压板组件,形成供第一待焊接端及第二待焊接端容纳的空间,并在压板组件不同工作状态下使第一待焊接端及第二待焊接端对应有第一工位、第二工位及第三工位;抱紧机构,贴合卷料,并触发第一待焊接端与第二待焊接端发生相对运动;压板组件包括第一压设部及第二压设部,并分别对应第一待焊接端及第二待焊接端;本发明的对齐精度更高,生产效率更高,且结构更精简,提高了钢桶的整体产品质量。

【权利要求书】
1 .一种钢桶全自动焊接设备,包括焊接机构、具有第一待焊接端及第二待焊接端的卷料,其特征在于,所述焊接机构包括定位机构,所述定位机构包括:
底座及压板组件,形成供第一待焊接端及第二待焊接端容纳的空间,并在压板组件不同工作状态下使第一待焊接端及第二待焊接端对应有第一工位、第二工位及第三工位;
抱紧机构,贴合卷料,并触发第一待焊接端与第二待焊接端发生相对运动;
所述压板组件包括第一压设部及第二压设部,并分别对应第一待焊接端及第二待焊接端;
所述第一压设部及第二压设部非工作状态下,第一待焊接端及第二待焊接端受抱紧机构作用处于第一工位;
所述第一压设部及第二压设部执行相异行程的动作,其中,大行程端一侧压抵对应第二待焊接端至贴合底座,小行程端一侧存在供对应第一待焊接端活动的预留间隙,实现第一待焊接端与第二待焊接端处于第二工位;
所述第一压设部及第二压设部同时压抵对应的第一待焊接端及第二待焊接端至贴合底座,实现第一待焊接端与第二待焊接端处于第三工位。
2 .根据权利要求1所述的一种钢桶全自动焊接设备,其特征在于:所述定位机构还包括定位挡片,所述定位挡片可进入或脱离第一待焊接端及第二待焊接端之间,使第一待焊接端和第二待焊接端之间不交叠;所述第二工位中的预留间隙使得第一待焊接端的端边缘处的底面距离底座的顶面的间距小于卷料的板厚度。
3 .根据权利要求2所述的一种钢桶全自动焊接设备,其特征在于:所述底座设有容纳腔且底座上端面沿卷料的轴线方向开设有槽口,所述槽口与容纳腔相连通;
所述定位挡片分段设置在容纳腔内部,其结构包括依次排列的且可在槽口中升降的若干定位挡片单元;当卷料被输送进焊接机构时,若干所述定位挡片单元沿着卷料被输送的方向依次上升。
4 .根据权利要求3所述的一种钢桶全自动焊接设备,其特征在于:还包括三芯卷圆机构、转运机构;
所述三芯卷圆机构包括三芯卷圆组件、设置在三芯卷圆组件正下方的对经过三芯卷圆机构后呈卷曲状的卷料进行导向和支撑的导向支撑机构;
所述导向支撑机构包括分段设置的呈弧形的导向板组、设置在卷料下方的若干第一支撑辊轮;所述转运机构包括将导向支撑机构上的卷料推送至焊接机构、同时将焊接机构上焊接好的桶身推离焊接机构的推送组件。
5 .根据权利要求4所述的一种钢桶全自动焊接设备,其特征在于:
所述定位机构还包括堵设在卷料移动方向的前侧的使第一待焊接端和第二待焊接端在卷料轴向相对齐的第一高度对齐机构、设置在卷料移动方向的后侧的使第一待焊接端和第二待焊接端在卷料轴向相对齐的第二高度对齐机构;
所述定位机构还包括支撑部,所述支撑部用于支撑卷料;
所述焊接机构还包括将定位机构上定位完成的卷料焊接成圆桶的焊接组件。
6 .根据权利要求5所述的一种钢桶全自动焊接设备,其特征在于:所述第一高度对齐机构包括挡板、驱动挡板升降的挡板驱动件;所述第二高度对齐机构包括弹簧定位销、驱动弹簧定位销沿卷料被输送方向整体移动的弹簧定位销驱动件;所述第二高度对齐机构的上方设有下压轮,所述下压轮始终向下压。
7 .根据权利要求4所述的一种钢桶全自动焊接设备,其特征在于:所述三芯卷圆组件的进料口处设置有输料夹棍;所述输料夹棍包括上下竖直设置的上主动夹棍、通过齿轮与上主动夹棍传动连接的下从动夹棍、驱动上主动夹棍旋转的上主动夹棍驱动件。
8 .根据权利要求5所述的一种钢桶全自动焊接设备,其特征在于:所述支撑部为沿卷料的轴向设置的若干第二支撑辊轮,所述导向支撑机构的若干第一支撑辊轮与定位机构的若干第二支撑辊轮,二者呈直线设置;所述推送组件为设置在若干第一支撑辊轮和若干第二支撑辊轮两侧边的链条输送带组件,所述链条输送带组件包括齿轮、套设在齿轮上的链条,驱动齿轮旋转的齿轮驱动件。
9 .根据权利要求4所述的一种钢桶全自动焊接设备,其特征在于:所述卷料在被送入三芯卷圆机构之前为桶板,所述桶板进入三芯卷圆机构时,桶板先进入的一端部为首端,后进入的一端部为尾端;所述导向板组包括设置在卷圆完成后桶板的首端所在侧边的第一导向板、设置在卷圆完成后桶板的尾端所在侧边的第二导向板组;第二导向板组包括第二导向板、驱动第二导向板以第二导向板的下端为基点沿卷料的径向摆动的导向板驱动件;初始状态,第二导向板整体以第二导向板的下端为基点沿卷料的径向向外倾斜。
10 .根据权利要求8所述的一种钢桶全自动焊接设备,其特征在于:所述链条上设有用来推动卷料的同时推动焊接好的桶身的等间距分布的卡爪推板。
11 .根据权利要求3所述的一种钢桶全自动焊接设备,其特征在于:所述底座包括左底座、右底座,所述左底座、右底座为左右对称设置;所述左底座的顶面与右底座的顶面相邻部分均为一平整面,所述左底座的顶面与右底座的顶面除去平整面均为弧面;所述槽口设置在两个平整面的交界处,所述槽口沿其长度方向的中部以及槽口其一端的端部连通有吹气装置。
12 .根据权利要求6所述的一种钢桶全自动焊接设备,其特征在于:所述焊接组件包括设置在卷料上方的若干激光焊接头、驱动若干激光焊接头移动的激光焊接头驱动件;所述激光焊接头的个数为三,激光焊接头驱动件包括与三个激光焊接头连接的三个激光焊接头气缸、以及驱动三个激光焊接头气缸沿第一待焊接端和第二待焊接端之间的缝隙同向往复移动的电缸。
【说明书】
技术领域
本发明涉及桶焊接设备技术领域,特别涉及一种钢桶全自动焊接设备。
背景领域
在金属制桶行业中,桶体一般采用薄钢板制成,为了保证钢板表面不受腐蚀,通常在桶体内外表面进行喷涂,钢桶在喷涂前需要进行清洗、磷化、烘干等操作;按1Kg油漆喷涂7个钢桶的量为准,每个钢桶喷涂油漆约142g,其中20%左右的是内涂环氧酚醛的内涂桶,在加热烘烤的过程中,60%的环氧酚醛会发生挥发,对环境产生严重的影响,且排放严重超标;同时,油漆喷涂耗费成本过高,一般包括油漆费、电费、天然气费用等等;因此,为了解决环保及生产成本的问题,市面上出现了覆膜桶,即在金属桶内外表面贴附薄膜进行表面处理。
现有的覆膜桶生产中的焊接部分大部分为传统焊接方法,覆膜桶生产过程为:先将呈平板状的金属板内外表面均贴附覆膜层,再将金属板的两端部进行摩边或铣边将贴附在两端部的覆膜层破坏,最后卷圆、将摩边或铣边后的两端部焊接、焊缝处补膜。近年来激光焊接得到了广泛的使用,激光焊接具有显著的优势——热输入低、焊接速度快、热影响区小、热变形小等,但是目前市面上很少有专门用来焊接金属桶的激光焊机。
现有技术中,申请号为CN202210168354 .1的专利文件(以下简称公开文件),公开了一种桶板焊接用上料、转送、焊接、下料装置,该公开文件中“焊接机构中的定位机构包括支撑部、抱紧机构、高度对齐机构、厚度对齐机构;其中,抱紧机构包括第一抱紧机构、第二抱紧机构,第一抱紧机构、第二抱紧机构分别包括第一圆弧形抱件、第二圆弧形抱件,以及驱动第一圆弧形抱件、第二圆弧形抱件的第一抱件驱动件、第二抱件驱动件;高度对齐机构包括挡板、驱动挡板升降的挡板驱动件;厚度对齐机构包括定位座组件、定位压板组件和固定压板组件,定位座组件包括升降动作的动座模组和固定设置的定座;定位压板组件包括第一定位压板驱动模组、第二定位压板驱动模组,第一定位压板驱动模组包括第一定位压板、第一定位压板驱动件,第二定位压板驱动模组包括第二定位压板、第二定位压板驱动件;固定压板组件包括若干固定压板、若干固定压板驱动件”,上述公开文件中焊接前的定位过程局限于的定位机构的复杂结构,导致焊接前定位步骤动作较多,整个定位过程不够精简、高效,极大的影响了覆膜桶的生产效率;同时如何全方位的提高覆膜桶的生产效率、如何提高覆膜桶的产品质量,也是亟需解决的问题。
发明内容
本发明目的是:提供一种钢桶全自动焊接设备,以解决现有技术中覆膜桶的生产过程中整个定位过程不够精简、高效,极大的影响了覆膜桶的生产效率的问题;同时解决如何提高覆膜桶的生产效率和如何提高覆膜桶的产品质量的问题。
本发明的技术方案是:一种钢桶全自动焊接设备,包括焊接机构、具有第一待焊接端及第二待焊接端的卷料,所述焊接机构包括定位机构,所述定位机构包括:底座及压板组件,形成供第一待焊接端及第二待焊接端容纳的空间,并在压板组件不同工作状态下使第一待焊接端及第二待焊接端对应有第一工位、第二工位及第三工位;
抱紧机构,贴合卷料,并触发第一待焊接端与第二待焊接端发生相对运动;
所述压板组件包括第一压设部及第二压设部,并分别对应第一待焊接端及第二待焊接端;
所述第一压设部及第二压设部非工作状态下,第一待焊接端及第二待焊接端受抱紧机构作用处于第一工位;
所述第一压设部及第二压设部执行相异行程的动作,其中,大行程端一侧压抵对应第二待焊接端至贴合底座,小行程端一侧存在供对应第一待焊接端活动的预留间隙,实现第一待焊接端与第二待焊接端处于第二工位;
所述第一压设部及第二压设部同时压抵对应的第一待焊接端及第二待焊接端至贴合底座,实现第一待焊接端与第二待焊接端处于第三工位。
优选的,所述定位机构还包括定位挡片,所述定位挡片可进入或脱离第一待焊接端及第二待焊接端之间,使第一待焊接端和第二待焊接端之间不交叠;所述第二工位中的预留间隙使得第一待焊接端的端边缘处的底面距离底座的顶面的间距小于卷料的板厚度。
优选的,所述底座设有容纳腔且底座上端面沿卷料的轴线方向开设有槽口,所述槽口与容纳腔相连通;
所述定位挡片分段设置在容纳腔内部,其结构包括依次排列的且可在槽口中升降的若干定位挡片单元;当卷料被输送进焊接机构时,若干所述定位挡片单元沿着卷料被输送的方向依次上升。
优选的,还包括三芯卷圆机构、转运机构;所述三芯卷圆机构包括三芯卷圆组件、设置在三芯卷圆组件正下方的对经过三芯卷圆机构后呈卷曲状的卷料进行导向和支撑的导向支撑机构;
所述导向支撑机构包括分段设置的呈弧形的导向板组、设置在卷料下方的若干第一支撑辊轮;所述转运机构包括将导向支撑机构上的卷料推送至焊接机构、同时将焊接机构上焊接好的桶身推离焊接机构的推送组件。
优选的,所述定位机构还包括堵设在卷料移动方向的前侧的使第一待焊接端和第二待焊接端在卷料轴向相对齐的第一高度对齐机构、设置在卷料移动方向的后侧的使第一待焊接端和第二待焊接端在卷料轴向相对齐的第二高度对齐机构;
所述定位机构还包括支撑部,所述支撑部用于支撑卷料;所述焊接结构还包括将定位机构上定位完成的卷料焊接成圆桶的焊接组件。优选的,所述第一高度对齐机构包括挡板、驱动挡板升降的挡板驱动件;
所述第二高度对齐机构包括弹簧定位销、驱动弹簧定位销沿卷料被输送方向整体移动的弹簧定位销驱动件;所述第二高度对齐机构的上方设有下压轮,所述下压轮始终向下压。
优选的,所述三芯卷圆组件的进料口处设置有输料夹棍;所述输料夹棍包括上下竖直设置的上主动夹棍、通过齿轮与上主动夹棍传动连接的下从动夹棍、驱动上主动夹棍旋转的上主动夹棍驱动件。
优选的,所述支撑部为沿卷料的轴向设置的若干第二支撑辊轮,所述导向支撑机构的若干第一支撑辊轮与定位机构的若干第二支撑辊轮,二者呈直线设置;所述推送组件为设置在若干第一支撑辊轮和若干第二支撑辊轮两侧边的链条输送带组件,所述链条输送带组件包括齿轮、套设在齿轮上的链条,驱动齿轮旋转的齿轮驱动件。
优选的,所述卷料在被送入三芯卷圆机构之前为桶板,所述桶板进入三芯卷圆机构时,桶板先进入的一端部为首端,后进入的一端部为尾端;
所述导向板组包括设置在卷圆完成后桶板的首端所在侧边的第一导向板、设置在卷圆完成后桶板的尾端所在侧边的第二导向板组;第二导向板组包括第二导向板、驱动第二导向板以第二导向板的下端为基点沿卷料的径向摆动的导向板驱动件;初始状态,第二导向板整体以第二导向板的下端为基点沿卷料的径向向外倾斜。
优选的,所述链条上设有用来推动卷料的同时推动焊接好的桶身的等间距分布的卡爪推板。优选的,所述底座包括左底座、右底座,所述左底座、右底座为左右对称设置;所述左底座的顶面与右底座的顶面相邻部分均为一平整面,所述左底座的顶面与右底座的顶面除去平整面均为弧面;所述槽口设置在两个平整面的交界处,所述槽口沿其长度方向的中部以及槽口其一端的端部连通有吹气装置。
优选的,所述焊接组件包括设置在卷料上方的若干激光焊接头、驱动若干激光焊接头移动的激光焊接头驱动件;所述激光焊接头的个数为三,激光焊接头驱动件包括与三个激光焊接头连接的三个激光焊接头气缸、以及驱动三个激光焊接头气缸沿第一待焊接端和第二待焊接端之间的缝隙同向往复移动的电缸。
与现有技术相比,本发明的优点是:
(1)本发明中定位机构包括支撑部、底座及压板组件、抱紧机构、定位挡片、堵设在卷料移动方向的前侧的使第一待焊接端和第二待焊接端在卷料轴向相对齐的第一高度对齐机构、设置在卷料移动方向的后侧的使第一待焊接端和第二待焊接端在卷料轴向相对齐的第二高度对齐机构;本发明中的定位机构的结构更简单,省去了公开文件中的“撑开组件、第一定位压板组件、第二定位压板组件、斜向驱动件、动座模组”,节省了大量的设备成本的同时,焊接前的定位步骤也减少了一半,极大的提高了定位的效率;通过计算,本发明中的定位机构相对于公开文件中的“定位机构”,可以节约一半的定位时间,极大的提高了覆膜桶的生产效率。
(2)本发明中通过设置第一工位、第二工位、第三工位,三个工位就可以实现卷料的第一待焊接端及第二待焊接端在焊接前的定位;在第二工位处,第一压设部及第二压设部执行相异行程的动作,其中,大行程端一侧压抵对应第二待焊接端至贴合底座,小行程端一侧存在供对应第一待焊接端活动的预留间隙,且该间隙使得第一待焊接端的端边缘处的底面距离底座的顶面的间距小于卷料的板厚度;即可以让若干定位挡片单元脱离第一待焊接端及第二待焊接端之间时,在抱紧机构的动作下,可以使第一待焊接端和第二待焊接端之间对接且不交叠,使得焊接中不会出现隆起,焊缝更加完美。
(3)本发明中通过若干定位挡片单元的设置,不仅可以使卷料定位过程中第一待焊接端和第二待焊接端之间不交叠且精准对接;同时,若干定位挡片单元设置有多个,当卷料被输送进焊接机构时,若干定位挡片单元沿着卷料被输送的方向依次上升,这样焊接好的桶身在被推离焊接机构的同时,导向支撑机构上的卷料可以实现同步的被推送至焊接机构上,且卷料在被输送的过程中其第一待焊接端和第二待焊接端之间不会交叠,在保证焊接效果的同时进一步提升了上料的效率;而且,本发明中若干定位挡片单元穿设在底座的槽口中,进一步节省了空间。
(4)本发明中,第一高度对齐机构包括挡板、驱动挡板升降的挡板驱动件,挡板驱动件驱动挡板上升使卷料的第一待焊接端和第二待焊接端在其高度方向(即卷料的轴向)上对齐;第二高度对齐机构包括弹簧定位销、驱动弹簧定位销沿卷料被输送方向整体移动的弹簧定位销驱动件,弹簧定位销在弹簧定位销驱动件的驱动下,使卷料的第一待焊接端和第二待焊接端在其高度方向(即卷料的轴向)上对齐;相比较于公开文件中只设置了“高度对齐机构”(相当与本发明中的第一高度对齐机构),本发明中第二高度对齐机构与第一高度对齐机构配合共同实现卷料的第一待焊接端和第二待焊接端在其高度方向的精准对齐,对齐精度更高,提高了卷料的整体产品质量。
(5)本发明中,转运机构包括将导向支撑机构上的卷料推送至焊接机构、同时将焊接机构上焊接好的桶身推离焊接机构的推送组件;推送组件为设置在若干第一支撑辊轮和若干第二支撑辊轮两侧边的链条输送带组件,链条输送带组件包括齿轮、套设在齿轮上的链条,驱动齿轮旋转的齿轮驱动件;链条上设有用来推动卷料的同时推动焊接好的桶身的等间距分布的卡爪推板;现有技术的公开文件中,将“导向支撑机构”上的卷料沿直线推送至“焊接机构”的定位机构上的结构为“转送机构”,现有技术的公开文件中将焊接后的桶身推离焊接机构的定位机构上的结构为“下料机构”,该“转送机构”、“下料机构”的结构此处不再赘述;本实施例中,转运机构替代了公开文件中的结构相对复杂的“转送机构”和“下料机构”,结构更简化。
(6)本发明中三芯卷圆组件的进料口处设置有输料夹棍;输料夹棍包括上下竖直设置的上主动夹棍、通过齿轮与上主动夹棍传动连接的下从动夹棍、驱动上主动夹棍旋转的上主动夹棍驱动件;本发明中输料夹棍负责输料,三芯卷圆组件负责卷圆,极大的提高了卷圆的效率。
附图说明
下面结合附图及实施例对本发明作进一步描述:
图1为本实施例所述一种钢桶全自动焊接设备的结构示意图;

图1
图2为图1的右视图;

图2
图3为本实施例所述三芯卷圆机构的结构示意图;

图3
图4为图3的前视图;

图4
图5为本实施例所述输料夹棍、三芯卷圆组件的部分结构示意图;

图5
图6为本实施例所述焊接机构的结构示意图;

图6
图7为图6的前视图;

图7
图8为图6的俯视图;

图8
图9为本实施例所述定位挡片、压板组件的结构示意图;

图9
图10为图9的前视图;

图10
图11‑1至图11‑3本实施例所述第一工位、第二工位、第三工位的动作示意图;

图11-1

图11-2

图11-3
图12为本实施例所述转运机构的结构示意图;

图12
图13为图12的右视图;

图13
图14为本实施例所述第二高度对齐机构的结构示意图;

图14
图15为第二高度对齐机构的部分结构示意图;

图15
图16为图10中B处的放大结构示意图;

图16
图17为第一待焊接端的侧端面A紧抵接在第二待焊接端的侧端面B上的结构示意图;

图17
图18为图11‑2中C处的放大结构示意图。

图18
其中:
01、机架,02、V形导槽,03、第一待焊接端,04、第二待焊接端,05、侧端面A,06、侧端面B;
1、三芯卷圆机构;
11、三芯卷圆组件,111、上辊,112、下辊,113、边辊,114、调节机构,1141、连接板,1142、边辊气缸,1143、固定板,1144、螺旋升降机;
12、输料夹棍,121、上主动夹棍,122、下从动夹棍;
13、导向支撑机构,131、第一支撑辊轮,132、第一导向板,133、第二导向板,134、导向板气缸,135、转接板;
14、横梁,15、导向护板;
2、转运机构;
21、链条输送带组件,211、齿轮,212、链条,213、齿轮驱动件,214、卡爪推板A,215、卡爪推板B;
3、焊接机构;
31、定位机构,311、左底座,312、右底座,313、抱紧机构,3131、第一圆弧形抱件,3132、第一抱件驱动件,3133、第二圆弧形抱件,3134、第二抱件驱动件,314、第一高度对齐机构,3141、挡板,3142、挡板驱动件,315、第二高度对齐机构,3151、弹簧定位销,3152、弹簧定位销驱动件,316、平整面,317、槽口,318、第一压板单元,319、第一压板驱动件单元,3110、第二压板单元,3111、第二压板驱动件单元,3112、铜块,3113、定位挡片单元,3114、定位挡片驱动件单元,3115、第二支撑辊轮,3116、下压轮;
32、焊接组件,321、激光焊接头,322、电缸。
具体实施方式
下面结合具体实施例,对本发明的内容做进一步的详细说明:
在发明的描述中,需要理解的是,术语“中心”、“纵向”、“横向”、“长度”、“宽度”、“厚度”、“上”、“下”、“前”、“后”、“左”、“右”、“竖直”、“水平”、“顶”、“底”“内”、“外”、“顺时针”、“逆时针”等指示的方位或位置关系为基于附图所示的方位或位置关系,仅是为了便于描述发明和简化描述,而不是指示或暗示所指的装置或元件必须具有特定的方位、以特定的方位构造和操作,因此不能理解为对发明的限制。
如图1‑图2所示,一种钢桶全自动焊接设备,包括三芯卷圆机构1、转运机构2、焊接机构3、具有第一待焊接端03及第二待焊接端04的卷料;三芯卷圆机构1的进料端为桶板输送机构;本实施例中,三芯卷圆机构1、转运机构2、焊接机构3均固定在机架01上。
三芯卷圆机构1
如图3‑图4所示,三芯卷圆机构1包括三芯卷圆组件11、设置在三芯卷圆组件11正下方的对经过三芯卷圆机构1后呈卷曲状的卷料进行导向和支撑的导向支撑机构13;导向支撑机构13上的卷料呈横倒状,第一待焊接端03和第二待焊接端04位于横倒状的卷料上端部,三芯卷圆机构1将平板状的桶板卷成圆柱状;如图5所示,三芯卷圆组件11包括上辊111、与上辊111通过齿轮211传动连接的下辊112、与上辊111通过齿轮211传动连接的边辊113、驱动上辊111或下辊112旋转的辊轮驱动件,辊轮驱动件为电机;如图3、图4所示,上辊111、下辊112竖直固定在截面为工字形的横梁14上,横梁14两侧为凹槽状,用于容纳桶板卷圆后的两端部,工字形的横梁14起到桶板在卷圆过程中和被转运机构2推送至焊接机构3时定位导向的作用;横梁14的下端面还设置有为卷圆时呈卷曲状的桶板导向用的导向护板15,本实施例中,导向护板15有两块,防止卷圆时呈卷曲状的桶板卡住;三芯卷圆组件11的进料口处设置有输料夹棍12;输料夹棍12包括上下竖直设置的上主动夹棍121、通过齿轮211与上主动夹棍121传动连接的下从动夹棍122、驱动上主动夹棍121旋转的上主动夹棍驱动件,本实施例中,如图5所示,驱动上辊111旋转的辊轮驱动件、驱动上主动夹棍121旋转的上主动夹棍驱动件均为电机,且上辊111和上主动夹棍121通过同步带和同步带轮共用一个电机,上辊111和上主动夹棍121做圆周运动时的线速度相等,相比较于未设置输料夹棍12,三芯卷圆组件11在卷圈时既要承担夹送桶板向前的夹送力,还要承担卷圆的卷圆力,会影响卷圆的效率和质量,本实施例中,输料夹棍12负责输料,三芯卷圆组件11负责卷圆,极大的提高了卷圆的效率;边辊113设置在上辊111、下辊112位于出料的一侧,且边辊113的位置可通过调节机构114来调节;如图3所示,调节机构114包括铰接在上辊111两侧的连接板1141、与连接板1141铰接的边辊气缸1142,边辊气缸1142的另一端铰接在机架01上,边辊113固定在两块连接板1141上;调节机构114的侧边还设有螺旋升降机1144,两个连接板1141之间固定有固定板1143,具体的,螺旋升降机1144设置在固定板1143的上方,螺旋升降机1144的螺杆的底端与固定板1143相顶抵;使用时,边辊气缸1142起到将边辊113拉紧、固定的作用,通过边辊气缸1142来调试边辊113的位置(即调节好卷圆曲率),调节好卷圆曲率后,通过螺旋升降机1144增强边辊113的稳固性,提高卷圆精度,边辊113有预弯和卷圆双重功能。
导向支撑机构13包括分段设置的呈弧形的导向板组、设置在卷料下方的若干第一支撑辊轮131;导向板组、若干第一支撑辊轮131的位置设置与桶板卷圆过程中以及卷圆后的形状相匹配,且共同形成桶板卷圆过程中的前进通道。
卷料在被送入三芯卷圆机构1之前为桶板,桶板进入三芯卷圆机构1时,桶板先进入的一端部为首端,后进入的一端部为尾端;导向板组包括设置在卷圆完成后桶板的首端所在侧边的第一导向板132、设置在卷圆完成后桶板的尾端所在侧边的第二导向板组;第二导向板组包括第二导向板133、驱动第二导向板133以第二导向板133的下端为基点沿卷料的径向摆动的导向板驱动件;初始状态,第二导向板133整体以第二导向板133的下端为基点沿卷料的径向向外倾斜;具体的,如图4所示,本实施例中,导向板驱动件为竖直向设置的导向板气缸134,且该导向板气缸134的缸体的下端固定在机架01上,导向板气缸134的推杆向上伸出、向下缩回,初始状态导向板气缸134的推杆为缩回状态;第二导向板133的下端固定连接有转接板135,转接板135的另一端与导向板气缸134的推杆铰接;第二导向板组的具体工作原理为:当桶板的首端进入三芯卷圆机构1中时,由于导向板气缸134的推杆为缩回状态且第二导向板133整体以第二导向板133的下端为基点沿卷料的径向向外倾斜,所以在第二导向板133的导向作用下,桶板在三芯卷圆机构1的卷圆过程中,桶板的首端为上翘状,该上翘状保证桶板的首端不会被若干第一支撑辊轮131阻挡干扰或者保证桶板的首端不会插入到各个空隙中而影响卷圆;当卷圆快结束时,导向板气缸134的推杆伸出,使第二导向板133以第二导向板133的下端为基点沿卷料的径向向内摆动,让第二导向板133将桶板的尾端推压至横梁14的右侧边的凹槽内,第二导向板组可以起到防呆的作用。
转运机构2
转运机构2包括将导向支撑机构13上的卷料推送至焊接机构3、同时将焊接机构3上焊接好的桶身推离焊接机构3的推送组件。
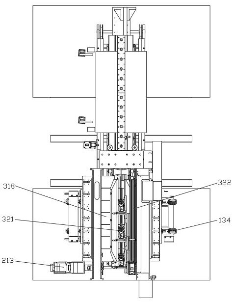
下述定位机构31的支撑部为沿卷料的轴向设置的若干第二支撑辊轮3115;导向支撑机构13的若干第一支撑辊轮131与定位机构31的若干第二支撑辊轮3115,二者呈直线设置(如图3、图4所示),本实施例中,若干第一支撑辊轮131、若干第二支撑辊轮3115的最外圈均为橡胶材质,以对桶板进行保护;推送组件为设置在若干第一支撑辊轮131和若干第二支撑辊轮3115两侧边的链条输送带组件21,链条输送带组件21包括齿轮211、套设在齿轮211上的链条212,驱动齿轮211旋转的齿轮驱动件213,该齿轮驱动件213为电机;链条212上设有用来推动卷料的同时推动焊接好的桶身的等间距分布的卡爪推板;本实施例中,如图4、图12所示,链条212设置在卷料和桶身的两侧边,每条链条212上固定有等间距分布的四个卡爪推板,两条链条212上的四个卡爪推板在链条212上的设置位置相同。
现有技术的公开文件中将“导向支撑机构”上的卷料沿直线推送至“焊接机构”的“定位机构”上的结构为“转送机构”,现有技术的公开文件中将焊接后的桶身推离“焊接机构”的“定位机构”上的结构为“下料机构”,该公开文件中的“转送机构”、“下料机构”的结构此处不再赘述;本实施例的转运机构2替代了公开文件中结构相对复杂的“转送机构”和“下料机构”,用电机驱动代替了公开文件中的气缸,运输效率更高,结构更简化。
焊接机构3
如图2所示,三芯卷圆机构1和焊接机构3之间的过渡段设有对第一待焊接端03和第二待焊接端04进行导向的V形导槽02。
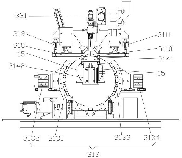
如图6‑图10所示,焊接机构3,焊接机构3包括定位机构31、将定位机构31上定位完成的卷料焊接成圆桶的焊接组件32;定位机构31包括支撑部、底座及压板组件、抱紧机构313、定位挡片、堵设在卷料移动方向的前侧的使第一待焊接端03和第二待焊接端04在卷料轴向相对齐的第一高度对齐机构314、设置在卷料移动方向的后侧的使第一待焊接端03和第二待焊接端04在卷料轴向相对齐的第二高度对齐机构315。
进一步的,底座及压板组件,形成供第一待焊接端03及第二待焊接端04容纳的空间,并在压板组件不同工作状态下使第一待焊接端03及第二待焊接端04对应有第一工位、第二工位及第三工位;抱紧机构313,贴合卷料,并触发第一待焊接端03与第二待焊接端04发生相对运动;压板组件包括第一压设部及第二压设部,并分别对应第一待焊接端03及第二待焊接端04;第一压设部及第二压设部非工作状态下,第一待焊接端03及第二待焊接端04受抱紧机构313作用处于第一工位;第一压设部及第二压设部执行相异行程的动作,其中,大行程端一侧压抵对应第二待焊接端04至贴合底座,小行程端一侧存在供对应第一待焊接端03活动的预留间隙,实现第一待焊接端03与第二待焊接端04处于第二工位;第一压设部及第二压设部同时压抵对应的第一待焊接端03及第二待焊接端04至贴合底座,实现第一待焊接端03与第二待焊接端04处于第三工位。
定位挡片可进入或脱离第一待焊接端03及第二待焊接端04之间,使第一待焊接端03和第二待焊接端04之间不交叠;第二工位中的预留间隙使得第一待焊接端03的端边缘处的底面距离底座的顶面的间距H小于卷料的板厚度(如图18所示)。
定位挡片分段设置在容纳腔内部,其结构包括依次排列的且可在槽口317中升降的若干定位挡片单元3113;当卷料被输送进焊接机构时,若干定位挡片单元3113沿着卷料被输送的方向依次上升;若干定位挡片单元3113由若干定位挡片驱动件单元3114驱动,本实施例中,若干定位挡片驱动件单元3114为气缸。
本实施例中,若干第一压板单元318分两段下压至左底座311的顶面,若干第二固定单元直接下压至右底座312的顶面,且若干第一压板单元318第一次下压时,使第一待焊接端03的端边缘处的底面距离下述左底座311的顶面的间距H小于卷料的板厚度(如图18所示);本实施例中,第一待焊接端03和第二待焊接端04为对焊,由于定位机构31中设置了若干定位挡片单元3113,且定位过程中,当若干定位挡片单元3113下降后,抱紧机构313在一次抱紧行程中第二次执行抱紧动作,如何使第一待焊接端03和第二待焊接端04之间对接而不交叠是本发明人需要解决的一个技术问题;本实施例中,通过若干第一压板单元318分两段下压、若干第二压板单元3110一段下压再与左底座311、右底座312、抱紧机构313配合来解决该问题,具体的,详见下述工作原理中的焊接前的定位过程。
抱紧机构313设置在卷料两侧边,抱紧机构313包括设置在与左底座311同侧的第一抱紧机构、设置在与右底座312同侧的第二抱紧机构,第一抱紧机构、第二抱紧机构左右对称设置;第一抱紧机构、第二抱紧机构分别包括与卷料形状匹配的第一圆弧形抱件3131、第二圆弧形抱件3133,以及驱动第一圆弧形抱件3131、第二圆弧形抱件3133水平移动的第一抱件驱动件3132、第二抱件驱动件3134,第一抱件驱动件3132、第二抱件驱动件3134为气缸;第一圆弧形抱件3131、第二圆弧形抱件3133均包括沿卷料的轴向设置的若干第一柱体、若干第二柱体。
如图16所示,底座设有容纳腔且底座上端面沿卷料的轴线方向开设有槽口317,槽口317与容纳腔相连通;本实施例中,底座固定设置在第一待焊接端03和第二待焊接端04正下方且底座包括左底座311、右底座312,左底座311、右底座312为左右对称设置;左底座311的顶面与右底座312的顶面相邻部分均为一平整面316,左底座311的顶面与右底座312的顶面除去平整面316均为弧面;槽口317设置在两个平整面316的交界处,槽口317沿其长度方向的中部以及槽口317其一端的端部连通有吹气装置;现有技术中,一般吹气装置连通在槽口317的两个端部,然后吹气装置从槽口317的两个端部同时往中间吹氮气进行焊渣的吹扫,两股对流的氮气会导致焊渣残留在槽口317内部,无法吹扫干净;本实施例中吹气装置连通在槽口317沿其长度方向的中部以及槽口317其一端的端部,两股氮气朝槽口317其中未设置吹气装置的一端吹出,试验证明该设置将焊渣吹扫的很干净,同时,吹气装置吹氮气还可以防止焊接时的氧化,保证了焊缝的清洁,如果焊缝在焊接时被氧化,在后期对焊缝进行补膜时,会影响膜的附着力,进而影响产品质量。
压板组件设置在第一待焊接端03和第二待焊接端04上方;第一压设部及第二压设部分别为第一压板和第二压板,第一压板包括沿卷料的轴向并列设置的若干第一压板单元318,第二压板包括沿卷料的轴向并列设置的若干第二压板单元3110,压板组件还包括驱动每个第一压板单元318压住或松开第一待焊接端03的若干第一压板驱动件单元319、驱动每个第二压板单元3110压住或松开第二待焊接端04的若干第二压板驱动件单元3111;若干第一压板单元318和若干第二压板单元3110同时动作;若干第一压板单元318和若干第二压板单元3110当其抬起时,其底面均低于若干定位挡片单元3113位于行程最高点时的顶面,以此保证当若干定位挡片单元3113处于升起状态时,若干定位挡片单元3113与若干第一压板单元318、左底座311围合形成用于容纳第一待焊接端03的容纳空间,若干定位挡片单元3113与若干第二压板单元3110、右底座312围合形成用于容纳第二待焊接端04的容纳空间;
本实施例中若干第一压板驱动件单元319、若干第二压板驱动件单元3111分别同时驱动若干第一压板单元318、若干第二压板单元3110下压,相较于第一压板和第二压板为整板,直接压在第一待焊接端03和第二待焊接端04上,本实施例中的分段同时下压,第一,动力更分散,第二,使第一待焊接端03和第二待焊接端04上受力更均匀,避免了空鼓、压不平整的问题。每个第一压板单元318和每个第二压板单元3110均包括与待焊接端相接触的头部、中部、远离头部的尾部;每个第一压板单元318和每个第二压板单元3110的中部均与固定在机架01上的另一固定板1143铰接,每个第一压板单元318和每个第二压板单元3110的尾部分别与每个第一压板驱动件单元319、每个第二压板驱动件单元3111相铰接;每个第一压板单元318和每个第二压板单元3110整体呈杠杆下压、抬起状,该设置使施加在第一待焊接端03和第二待焊接端04上的力更加平稳;同时,若干第一压板单元318和若干第二压板单元3110的头部上与待焊接端相接触部分为内嵌的铜块3112;铜块3112的设置可以保证焊渣不粘黏在若干第一压板单元318、若干第二压板单元3110上,也保证若干第一压板单元318、若干第二压板单元3110不会压坏第一待焊接端03和第二待焊接端04,当桶板为覆膜桶板时,铜块3112可以避免覆膜桶上的膜被擦伤;若干第一压板单元318和若干第二压板单元3110相对的端面均为倾斜面,两个倾斜面整体呈向上开口喇叭状。第一高度对齐机构314包括挡板3141、驱动挡板3141升降的挡板驱动件3142,该挡板驱动件3142为气缸;挡板驱动件3142驱动挡板3141上升使卷料的第一待焊接端03和第二待焊接端04在其高度方向(即卷料的轴向)上对齐;如图15所示,第二高度对齐机构315包括弹簧定位销3151、驱动弹簧定位销3151沿卷料被输送方向整体移动的弹簧定位销驱动件3152,该弹簧定位销驱动件3152为气缸,具体弹簧定位销3151的内部结构如图14所示,弹簧定位销3151为现有零件,包括有弹簧和位于弹簧顶端的销轴,销轴的顶端为一球面;本实施例中,弹簧定位销3151在其自然状态时,其销轴的顶点高于转运机构2上卷料的顶点3‑5㎜;第二高度对齐机构315的上方设有下压轮3116,下压轮3116始终向下压。第二高度对齐机构315的工作原理为:当导向支撑机构13上的卷料被推送至焊接机构3时,卷料的前端与弹簧定位销3151之间产生挤压力,弹簧定位销3151内的弹簧被挤压收缩,弹簧定位销3151的销轴整体下降,然后随着卷料继续移动,此时销轴的顶面在卷料的内壁上相对滑动,当卷料被转运机构2输送到达焊接机构3后,弹簧定位销3151的弹簧复位,销轴上升恢复自然状态,然后弹簧定位销驱动件3152推动弹簧定位销3151往第一高度对齐机构314所在侧移动,弹簧定位销3151使卷料的第一待焊接端03和第二待焊接端04在其高度方向(即卷料的轴向)上对齐,综上所述,第二高度对齐机构315与第一高度对齐机构314配合共同实现卷料的第一待焊接端03和第二待焊接端04在其高度方向的精准对齐。焊接组件32包括设置在卷料上方的若干激光焊接头321、驱动若干激光焊接头321移动的激光焊接头驱动件;激光焊接头321的个数为三,激光焊接头驱动件包括与三个激光焊接头321连接的三个激光焊接头气缸、以及驱动三个激光焊接头气缸沿第一待焊接端03和第二待焊接端04之间的缝隙同向往复移动的电缸322。如图6所示,在一个焊接的行程中,每个激光焊接头321只需焊接一个卷料上需焊接缝隙的三分之一长度,从而提高了卷料的焊接效率;在实际应用中,激光焊接头321的个数可按需设置,此处不做限定。本发明的工作原理阐述如下:本实施例在一个工作循环中,三芯卷圆机构1与焊接机构3在同一时间段动作,即三芯卷圆机构1在卷圆的同时,焊接机构3对上一个工作循环被转运机构2输送过来的卷料进行定位、焊接;转运机构2将导向支撑机构13上的卷料推送至焊接机构3的同时将焊接机构3上焊接好的桶身推离焊接机构3。为便于说明,第一待焊接端03的边缘的断面记为侧端面A05,第二待焊接端04的边缘的断面记为侧端面B06。
第一阶段:三芯卷圆机构1、焊接机构3动作
(1)卷圆
初始状态,三芯卷圆机构1中的导向支撑机构13上无卷料。平板状桶板被输送到三芯卷圆组件11中,通过三芯卷圆组件11的上辊111、下辊112、边辊113的共同作用,使平板状桶板产生形变而被卷成圆柱状,卷圈过程中导向板组对卷圆中的桶板进行导向;卷圆完成后,卷料呈横倒状。
(2)焊接前的定位
初始状态:定位机构31中有上一工作循环中被转运机构2输送至定位机构31的卷料;支撑部将卷料支撑且固定住;抱紧机构313的第一圆弧形抱件3131、第二圆弧形抱件3133为打开状态;第一高度对齐机构314的挡板3141处于已升起状态,第二高度对齐机构315的弹簧定位销3151处于抵接在第一待焊接端03和第二待焊接端04一端;若干定位挡片单元3113全部已升起;若干第一压板单元318、若干第二压板单元3110均属于抬起状;
第一待焊接端03及第二待焊接端04处于第一工位,如图11‑1所示,抱紧机构313在一个抱紧行程中第一次动作,抱紧机构313中的第一抱件驱动件3132、第二抱件驱动件3134同时分别驱动第一圆弧形抱件3131、第二圆弧形抱件3133相向水平移动将卷料抱紧,使第一待焊接端03位于若干第一压板单元318、若干定位挡片单元3113、左底座311围合形成的容纳空间内,且由于抱紧力第一待焊接端03面的侧端面A05轻抵于若干定位挡片单元3113的左侧面上;第二待焊接端04位于若干第二压板单元3110、若干定位挡片单元3113、右底座312围合形成的容纳空间内,且由于抱紧力第二待焊接端04面的侧端面B06轻抵于若干定位挡片单元3113的右侧面上;
第一待焊接端03及第二待焊接端04处于第二工位,如图11‑2所示,抱紧机构313持续抱紧,若干第一压板单元318、若干第二压板单元3110均下压,其中若干第一压板单元318第一次下压,使得第一待焊接端的端边缘处的底面距离底座的顶面的间距H小于卷料的板厚度;若干第二压板单元3110将第二待焊接端04压抵在底座上;
第一待焊接端03及第二待焊接端04处于第三工位,如图11‑3所示,若干定位挡片单元3113全部下降,抱紧机构313在一个抱紧行程中第二次动作,抱紧机构313中的第一抱件驱动件3132、第二抱件驱动件3134同时分别驱动第一圆弧形抱件3131、第二圆弧形抱件3133相向水平移动将卷料抱紧,第一待焊接端03在抱紧机构313抱紧力的作用下向着第二待焊接端04移动直至侧端面A05紧抵接在侧端面B06上(如图17所示),若干第一压板单元318继续下压将第一待焊接端03压抵在左底座311的顶面上,使第一待焊接端03与第二待焊接端04对接,完成焊接前的定位;
本定位机构31相比较于公开文件中的“定位机构”,省去了公开文件中的“撑开组件”、“第一定位压板组件”、“第二定位压板组件”、“斜向驱动件”、“动座模组”,整体结构更简单,实验证明公开文件中需要定位的时间为8秒,本实施例中定位时间为4秒,可以节约一半的定位时间,极大的提高了定位效率,且定位精度更高,提高了覆膜桶的生产效率。
焊接
焊接组件32中,三个激光焊接头气缸驱动三个激光焊接头321移动至第一待焊接端03、第二待焊接端04正上方,电缸322驱动三个激光焊接头321同时同向移动对第一待焊接端03、第二待焊接端04之间的缝隙进行焊接,卷料焊接好后为桶身。
第二阶段:转运机构2将导向支撑机构13上的卷料推送至焊接机构3的同时将焊接机构3上焊接好的桶身推离焊接机构3;
转运机构2的初始状态为:链条212上的两个相邻的卡爪推板中,分别为卡爪推板A214、卡爪推板B215,其中,卡爪推板A214位于导向支撑机构13上的卷料的被输送的起始端一侧,卡爪推板B215位于焊接机构3上焊接好的桶身的被输送的起始端一侧;
电缸322、三个激光焊接头气缸共同驱动三个激光焊接头321复位,若干第一压板单元318、若干第一压板单元318抬起,第一圆弧形抱件3131、第二圆弧形抱件3133打开复位;第一高度对齐机构314的挡板3141下降复位,第二高度对齐机构315的弹簧定位销3151整体水平向伸出复位;
链条输送带组件21的齿轮驱动件213驱动齿轮211旋转进而带动链条212转动,链条212转动驱动卡爪推板A214推动导向支撑机构13上的卷料向焊接机构3移动,同时链条212转动驱动卡爪推板B215推动焊接机构3上焊接好的桶身离开焊接机构3;卡爪推板B215推动焊接机构3上焊接好的桶身离开焊接机构3时,若干定位挡片单元3113沿着焊接好的桶身移动的方向依次上升,以此为从导向支撑机构13向焊接机构3移动的卷料进行导向;当卷料移动至焊接机构3上的目标位置后,第一高度对齐机构314的挡板驱动件3142驱动挡板3141上升,第二高度对齐机构315的弹簧定位销驱动件3152驱动弹簧定位销3151往第一高度对齐机构314所在侧移动;第一高度对齐机构314与第二高度对齐机构315配合使卷料的第一待焊接端03和第二待焊接端04的在其高度向对齐;
回到第一阶段,以此循环往复。
上述实施例只为说明本发明的技术构思及特点,其目的在于让熟悉此项技术的人能够了解本发明的内容并据以实施,并不能以此限制本发明的保护范围。对于本领域技术人员而言,显然本发明不限于上述示范性实施例的细节,而且在不背离本发明的精神或基本特征的情况下,能够以其他的具体形式实现本发明,因此无论从哪一点来看,均应将实施例看作是示范性的,而且是非限制性的,本发明的范围由所附权利要求而不是上述说明限定,因此旨在将落在权利要求的等同要件的含义和范围内的所有变化囊括在本发明内。
|