|
【专利介绍】一种钢桶输送装置
文/代国民
申请号:202221778457 .1
申请日:2022 .07 .11
专利权人:重庆金粮包装有限公司
发明人:代国民、裴剑、龚洪昌
摘 要
本实用新型采用一种钢桶输送装置,在从第一工序段到第二工序段的下降过程中设置有缓冲段,通过缓冲段上的缓冲臂对钢桶起到的一定的缓冲减速效果,避免钢桶速度过快产生撞击损坏的情况;能够防止钢桶输送方向变化或者高度变化导致速度过快的情况,能够减少因钢桶撞击产生的次品数量,进一步保证钢桶质量。

权利要求书
1 .一种钢桶输送装置,其特征在于,包括
第一工序段;
第二工序段,所述第一工序段和所述第二工序段沿着第一方向设置,其中,所述第一方向为钢桶的输送方向,所述第二工序段与所述第一工序段垂直,且所述第二工序段的高度低于所述第一工序段的高度;
其中,所述第二工序段包括斜坡段和缓冲段,所述斜坡段沿着所述第一方向高度逐渐降低,所述斜坡段沿着第一方向具有第一端部和第二端部,所述缓冲段设置在所述第二端部,所述斜坡段的第一端部靠近所述第一工序段设置;
所述缓冲段包括固定架,所述固定架上设置有缓冲臂,所述缓冲臂具有第一旋转位置和第二旋转位置,所述缓冲臂被配置为当所述缓冲臂接触到所述钢桶时,所述缓冲臂可在所述钢桶的作用下由第一旋转位置旋转至第二旋转位置,以使所述缓冲臂和所述斜坡段的夹角逐渐减小。
2 .根据权利要求1所述的钢桶输送装置,其特征在于,所述缓冲臂的数量至少为两个,且两个所述缓冲臂分别设置在所述固定架沿着所述第一方向的左右两侧。
3 .根据权利要求1所述的钢桶输送装置,其特征在于,所述缓冲臂上设置有锁紧装置,所述锁紧装置被配置为可将所述缓冲臂固定在所述第一旋转位置或第二旋转位置。
4 .根据权利要求1所述的钢桶输送装置,其特征在于,所述缓冲臂上设置有感应开关和驱动装置,所述第一感应开关被配置为当所述第一感应开关检测到所述钢桶运动至缓冲臂上时,所述第一感应开关控制所述驱动装置进入第一工作装置,其中,所述第一工作装置包括所述驱动装置驱动所述缓冲臂由第一旋转位置旋转至第二旋转位置。
5 .根据权利要求1所述的钢桶输送装置,其特征在于,所述缓冲臂上设置有用于承接所述钢桶的柔性缓冲部。
6 .根据权利要求1所述的钢桶输送装置,其特征在于,所述钢桶输送装置还包括第三工序段,所述第三工序段沿着所述第一方向设置在所述缓冲段之后,且所述第三工序段具有输送链路,所述输送链路具有靠近所述缓冲段的承接端部,所述承接端部被配置为当所述缓冲臂旋转至所述第二旋转位置时,至少部分所述缓冲臂与所述承接端部等高。
7 .根据权利要求6所述的钢桶输送装置,其特征在于,所述输送链路上具有至少两个间隔设置的固定轮,两个所述固定轮用于承托所述钢桶。
8 .根据权利要求1所述的钢桶输送装置,其特征在于,所述第一工序段具有等候段,所述等候段的高度低于所述斜坡段的第一端部,所述等候段上设置有提升装置,所述提升装置用于将所述钢桶由所述等候段输送至所述斜坡段的第一端部上。
9 .根据权利要求8所述的钢桶输送装置,其特征在于,所述等候段上设置有第二感应开关,所述提升装置包括伸缩气缸和驱动杆,所述第二感应开关被配置为当所述第二感应开关感应到所述钢桶位于等候段时,所述第二感应开关可发出提升信号给所述伸缩气缸,进而所述伸缩气缸带动所述驱动杆升降,并将所述钢桶提升至所述第一端部上。
说明书
1、技术领域
本实用新型涉及钢桶输送技术领域,尤其涉及一种钢桶输送装置。
2、背景技术
在生产钢桶过程中,由于钢桶其形状为圆柱型,难以对钢桶进行固定;特别是在流水线的下坡路段,钢桶受到重力的影响会高速滑落,极易撞击到其他钢桶或者其他设备上,导致造成钢桶损伤或者损坏。在相关技术中,钢桶均是通过自动化输送进行流转,制件送至工序工位后,输送停止,生产设备启动进行工序生产,完成后,输送启动,实现了自动化流水线生产。但是现有技术中,无法做到整个生产输送过程各工序生产高度一致、输送线高度一致、输送方向一致、生产和输送标高一致;在输送过程中会由于高度变化或方向变化,往往会造成钢桶变型,不能保证钢桶质量,无法完成客户对产品的品质要求。因此亟需要一种能够克服上述问题的钢桶输送装置。
3、实用新型内容
为克服上述问题,本实用新型提供了一种钢桶输送装置,在钢桶输送的过程中,在输送方向变化或者高度变化时,缓冲段能够对钢桶起到良好的缓冲效果,避免钢桶速度过快产生撞击损坏的情况。
一种钢桶输送装置,包括
第一工序段;
第二工序段,所述第一工序段和所述第二工序段沿着第一方向设置,其中,所述第一方向为钢桶的输送方向,所述第二工序段与所述第一工序段垂直,且所述第二工序段的高度低于所述第一工序段的高度;
其中,所述第二工序段包括斜坡段和缓冲段,所述斜坡段沿着所述第一方向高度逐渐降低,所述斜坡段沿着第一方向具有第一端部和第二端部,所述缓冲段设置在所述第二端部,所述斜坡段的第一端部靠近所述第一工序段设置;
所述缓冲段包括固定架,所述固定架上设置有缓冲臂,所述缓冲臂具有第一旋转位置和第二旋转位置,所述缓冲臂被配置为当所述缓冲臂接触到所述钢桶时,所述缓冲臂可在所述钢桶的作用下由第一旋转位置旋转至第二旋转位置,以使所述缓冲臂和所述斜坡段的夹角逐渐减小。
在本申请的部分实施例中,所述缓冲臂的数量至少为两个,且两个所述缓冲臂分别设置在所述固定架沿着所述第一方向的左右两侧。
在本申请的部分实施例中,所述缓冲臂上设置有锁紧装置,所述锁紧装置被配置为可将所述缓冲臂固定在所述第一旋转位置或第二旋转位置。
在本申请的部分实施例中,所述缓冲臂上设置有感应开关和驱动装置,所述第一感应开关被配置为当所述第一感应开关检测到所述钢桶运动至缓冲臂上时,所述第一感应开关控制所述驱动装置进入第一工作装置,其中,所述第一工作装置包括所述驱动装置驱动所述缓冲臂由第一旋转位置旋转至第二旋转位置。
在本申请的部分实施例中,所述缓冲臂上设置有用于承接所述钢桶的柔性缓冲部。
在本申请的部分实施例中,所述钢桶输送装置还包括第三工序段,所述第三工序段沿着所述第一方向设置在所述缓冲段之后,且所述第三工序段具有输送链路,所述输送链路具有靠近所述缓冲段的承接端部,所述承接端部被配置为当所述缓冲臂旋转至所述第二旋转位置时,至少部分所述缓冲臂与所述承接端部等高。
在本申请的部分实施例中,所述输送链路上具有至少两个间隔设置的固定轮,两个所述固定轮用于承托所述钢桶。在本申请的部分实施例中,所述第一工序段具有等候段,所述等候段的高度低于所述斜坡段的第一端部,所述等候段上设置有提升装置,所述提升装置用于将所述钢桶由所述等候段输送至所述斜坡段的第一端部上。
在本申请的部分实施例中,所述等候段上设置有第二感应开关,所述提升装置包括伸缩气缸和驱动杆,所述第二感应开关被配置为当所述第二感应开关感应到所述钢桶位于等候段时,所述第二感应开关可发出提升信号给所述伸缩气缸,进而所述伸缩气缸带动所述驱动杆升降,并将所述钢桶提升至所述第一端部上。
本实用新型的有益效果是:本实用新型采用一种钢桶输送装置,在从第一工序段到第二工序段的下降过程中设置有缓冲段,通过缓冲段上的缓冲臂对钢桶起到的一定的缓冲减速效果,避免钢桶速度过快产生撞击损坏的情况;能够防止钢桶输送方向变化或者高度变化导致速度过快的情况,能够减少因钢桶撞击产生的次品数量,进一步保证钢桶质量。
4、附图说明
图1为本实用新型的整体结构俯视示意图;

图1
图2为本实用新型的局部结构的第一状态主视示意图;

图2
图3为本实用新型的局部结构的第二状态主视示意图;

图3
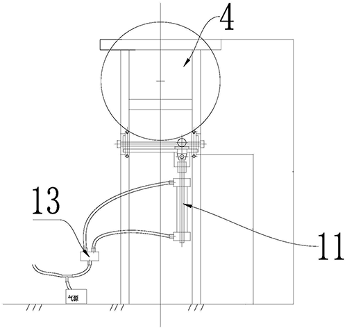
图4为本实用新型的缓冲段的结构示意图;

图4
图5为本实用新型的缓冲臂的结构示意图;

图5
图6为本实用新型的缓冲段的俯视示意图;

图6
图7为本实用新型的第一工序段的结构示意图;

图7
图8为本实用新型的缓冲臂的第一状态示意图;

图8
图9为本实用新型的缓冲臂的第二状态示意图;

图9
图10为本实用新型的提升装置的第一状态示意图;

图10
图11为本实用新型的提升装置的第二状态示意图。

图11
具体元素符号说明:1‑第一工序段,2‑第二工序段,3‑第三工序段,4‑钢桶,11‑等候段,12‑提升装置,13‑第二电磁阀,21‑缓冲臂,22‑斜坡段,23‑旋转气缸,31‑承接端部,32‑固定轮,111‑第二感应开关,211‑柔性缓冲部,212‑底部钢板,213‑第一感应开关,231‑第一电磁阀。
5、具体实施方式
为使本实用新型实施例的目的、技术方案和优点更加清楚,下面将结合本实用新型实施例中的附图,对本实用新型实施例中的技术方案进行清楚、完整地描述,显然,所描述的实施例是本实用新型一部分实施例,而不是全部的实施例。通常在此处附图中描述和示出的本实用新型实施例的组件可以以各种不同的配置来布置和设计。以下对在附图中提供的本实用新型的实施例的详细描述并非旨在限制要求保护的本实用新型的范围,而是仅仅表示本实用新型的选定实施例。基于本实用新型中的实施例,本领域普通技术人员在没有作出创造性劳动前提下所获得的所有其他实施例,都属于本实用新型保护的范围。
应注意到:相似的标号和字母在下面的附图中表示类似项,因此,一旦某一项在一个附图中被定义,则在随后的附图中不需要对其进行进一步定义和解释。此外,术语“第一”、“第二”、“第三”等仅用于区分描述,而不能理解为指示或暗示相对重要性。此外,“水平”、“竖直”、“悬垂”等术语并不表示要求部件绝对水平或悬垂,而是可以稍微倾斜。如“水平”仅仅是指其方向相对“竖直”而言更加水平,并不是表示该结构一定要完全水平,而是可以稍微倾斜。对于本领域的普通技术人员而言,可以具体情况理解上述术语在本实用新型中的具体含义。
请参阅图1至图11,本实施例提供一种钢桶输送装置,包括第一工序段1;第二工序段2,所述第一工序段1和所述第二工序段2沿着第一方向设置,其中,所述第一方向为钢桶4的输送方向,所述第二工序段2与所述第一工序段1垂直,且所述第二工序段2的高度低于所述第一工序段1的高度;其中,所述第二工序段2包括斜坡段22和缓冲段,所述斜坡段22沿着所述第一方向高度逐渐降低,所述斜坡段22沿着第一方向具有第一端部和第二端部,所述缓冲段设置在所述第二端部,所述斜坡段22的第一端部靠近所述第一工序段1设置;所述缓冲段包括固定架,所述固定架上设置有缓冲臂21,所述缓冲臂21具有第一旋转位置和第二旋转位置,所述缓冲臂21被配置为当所述缓冲臂21接触到所述钢桶4时,所述缓冲臂21可在所述钢桶4的作用下由第一旋转位置旋转至第二旋转位置,以使所述缓冲臂21和所述斜坡段22的夹角逐渐减小。
在从第一工序段1到第二工序段2的下降过程中设置有缓冲段,通过缓冲段上的缓冲臂21对钢桶4起到的一定的缓冲减速效果,避免钢桶4速度过快产生撞击损坏的情况;能够防止钢桶4输送方向变化或者高度变化导致速度过快的情况,能够减少因钢桶4撞击产生的次品数量,进一步保证钢桶4质量。
在一些实施例中,缓冲臂21具有第一缓冲段和第二缓冲段,所述第一缓冲段和第二缓冲段之间设置有第一夹角,所述第一夹角为10°‑80°。第二缓冲段能够对钢桶4起到减速效果。
需要解释的是,本申请所提到的钢桶4一般指圆柱形的桶状结构;但是也可以指非桶状的结构;也可以指非圆柱结构。
在本申请的部分实施例中,所述缓冲臂21的数量至少为两个,且两个所述缓冲臂21分别设置在所述固定架沿着所述第一方向的左右两侧。
在本申请的部分实施例中,所述缓冲臂21上设置有锁紧装置,所述锁紧装置被配置为可将所述缓冲臂21固定在所述第一旋转位置或第二旋转位置。
在本申请的部分实施例中,所述缓冲臂21上设置有感应开关和驱动装置,所述第一感应开关213被配置为当所述第一感应开关213检测到所述钢桶4运动至缓冲臂21上时,所述第一感应开关213控制所述驱动装置进入第一工作装置,其中,所述第一工作装置包括所述驱动装置驱动所述缓冲臂21由第一旋转位置旋转至第二旋转位置。
在一些实施例中,所述驱动装置包括气源、第一输气管路和旋转气缸23,所述气源通过第一输气管路通气至旋转气缸23,进而控制旋转气缸23工作。
更为具体地,输气管路上设置有第一电磁阀231,第一感应开关213通过控制第一电磁阀231的开闭来控制旋转气缸23是否工作。
在本申请的部分实施例中,所述缓冲臂21上设置有用于承接所述钢桶4的柔性缓冲部211。
在一些实施例中,缓冲臂21包括底部钢板212和设置在至少局部底部钢板212上荣幸缓冲部,能够对钢桶4进行保护,提高缓冲效果。
在本申请的部分实施例中,所述钢桶4输送装置还包括第三工序段3,所述第三工序段3沿着所述第一方向设置在所述缓冲段之后,且所述第三工序段3具有输送链路,所述输送链路具有靠近所述缓冲段的承接端部31,所述承接端部31被配置为当所述缓冲臂21旋转至所述第二旋转位置时,至少部分所述缓冲臂21与所述承接端部31等高。
在本申请的部分实施例中,所述输送链路上具有至少两个间隔设置的固定轮32,两个所述固定轮32用于承托所述钢桶4。
在本申请的部分实施例中,所述第一工序段1具有等候段11,所述等候段11的高度低于所述斜坡段22的第一端部,所述等候段11上设置有提升装置12,所述提升装置12用于将所述钢桶4由所述等候段11输送至所述斜坡段22的第一端部上。
在本申请的部分实施例中,所述等候段11上设置有第二感应开关111,所述提升装置12包括伸缩气缸和驱动杆,所述第二感应开关111被配置为当所述第二感应开关111感应到所述钢桶4位于等候段11时,所述第二感应开关111可发出提升信号给所述伸缩气缸,进而所述伸缩气缸带动所述驱动杆升降,并将所述钢桶4提升至所述第一端部上。
在一些实施例中,提升装置12还包括气源、第二输气管路和第二电磁阀13,通过第二输气管路将气源的高压气体输出到伸缩气缸上,进而控制伸缩气缸推动驱动杆运动。第二感应开关111用于控制第二电磁阀13的开闭来控制伸缩气缸是否工作。
在一些实施例中,驱动杆设置在钢桶4背离第二工序段2的一侧。第二方面,本申请还提供一种钢桶4输送方法,采用上述的钢桶4输送装置对钢桶4进行输送。
本实施例中钢桶4输送装置的工作流程为:桶胚缝焊后将桶胚输送至第一工序段1的带式输送装置上,通过带式输送装置将钢桶4输送至等候段11;此时第二感应开关111感应到钢桶4位于等候段11上,将信号传输给第二电磁阀13,第二电磁阀13打开,伸缩气缸启动并驱动杆伸长,驱动杆带动连接的顶升圆管推动桶胚,桶胚升起到斜坡段22的第一端部上;桶胚沿着斜坡段22滚动至缓冲段的缓冲臂21上,且对桶胚进行减速;
此时,第一感应开关213感应到桶胚位于缓冲臂21上,且缓冲臂21处于第一旋转位置,将信号传输至第一电磁阀231上,第二电磁阀13关闭、旋转气缸23关闭且气缸轴收缩,带动连接的缓冲臂21旋转至第二旋转位置,进而使桶胚滚到至第三工序段3上。在第三工序段3进行加工后,第三工序段3上的输送链路将桶胚送走,且控制缓冲臂21复位。完成一次工作循环,多次循环实现批量运输生产。全过程自动化,且能够良好控制桶间间距。
钢桶4沿斜坡输送装置滚下,直至缓冲装置上,电磁感应器感应,将信号传送至电磁阀,电磁阀关闭,气缸关闭,气缸轴收缩,带动连接的缓冲装置,所述缓冲臂32由第一旋转位置旋转至第二旋转位置,以使所述缓冲臂32和所述斜坡段的夹角逐渐减小,钢桶4随之降落至链式输送装置上。
本申请的优势在于:
(1)缓冲臂能够防止因输送方向变化、输送高度变化所引起的钢桶碰撞变形;
(2)本申请的钢桶输送装置能够减少废次品产生,降低生产成本;
(3)本申请的钢桶输送装置能够保证钢桶质量,保证客户对产品的品质要求。
上文已对基本概念做了描述,显然,对于本领域技术人员来说,上述详细披露仅仅作为示例,而并不构成对本申请的限定。虽然此处并没有明确说明,本领域技术人员可能会对本申请进行各种修改、改进和修正。该类修改、改进和修正在本申请中被建议,所以该类修改、改进、修正仍属于本申请示范实施例的精神和范围。
同时,本申请使用了特定词语来描述本申请的实施例。如“一个实施例”、“一实施例”、和/或“一些实施例”意指与本申请至少一个实施例相关的某一特征、结构或特点。因此,应强调并注意的是,本说明书中在不同位置两次或多次提及的“一实施例”或“一个实施例”或“一个替代性实施例”并不一定是指同一实施例。此外,本申请的一个或多个实施例中的某些特征、结构或特点可以进行适当的组合。
同理,应当注意的是,为了简化本申请披露的表述,从而帮助对一个或多个实用新型实施例的理解,前文对本申请实施例的描述中,有时会将多种特征归并至一个实施例、附图或对其的描述中。但是,这种披露方法并不意味着本申请对象所需要的特征比权利要求中提及的特征多。实际上,实施例的特征要少于上述披露的单个实施例的全部特征。
一些实施例中使用了描述成分、属性数量的数字,应当理解的是,此类用于实施例描述的数字,在一些示例中使用了修饰词“大约”、“近似”或“大体上”来修饰。除非另外说明,“大约”、“近似”或“大体上”表明数字允许有±20%的变化。相应地,在一些实施例中,说明书和权利要求中使用的数值参数均为近似值,该近似值根据个别实施例所需特点可以发生改变。在一些实施例中,数值参数应考虑规定的有效数位并采用一般位数保留的方法。尽管本申请一些实施例中用于确认其范围广度的数值域和参数为近似值,在具体实施例中,此类数值的设定在可行范围内尽可能精确。
针对本申请引用的每个专利、专利申请、专利申请公开物和其他材料,如文章、书籍、说明书、出版物、文档等,特此将其全部内容并入本申请作为参考,但与本申请内容不一致或产生冲突的申请历史文件除外,对本申请权利要求最广范围有限制的文件(当前或之后附加于本申请中的)也除外。需要说明的是,如果本申请附属材料中的描述、定义、和/或术语的使用与本申请内容有不一致或冲突的地方,以本申请的描述、定义和/或术语的使用为准。
以上对本申请实施例所提供的技术方案进行了详细介绍,本文中应用了具体个例对本实用新型的原理及实施方式进行了阐述,以上实施例的说明只是用于帮助理解本实用新型的方法及其核心思想;同时,对于本领域的技术人员,依据本实用新型的思想,在具体实施方式及应用范围上均会有改变之处,综上所述,本说明书内容不应理解为对本实用新型的限制。 |