|
润滑油(脂)包装容器及技术的发展
文/佚名

润滑油作为商品,它的包装是不可缺少的一个重要环节。一般说来,一种商品的包装应满足以下要求:
1、保护商品在流通(运输)和储存时不受污损或出现泄漏导致污染环境。
2、对不同的使用场合要有与之相适应的包装型式和合理的容积,以方便运输和用户的使用。
3、外形美观,标识醒目、鲜明,具有宣传的效用。
润滑油品种繁多,大到工矿企业,小到家庭日用品,都有广泛的应用,包装型式非常多样化。世界各国在不断扩大润滑油产品的应用领域和提高产品质量的同时,也在适时地改进包装型式以适应发展的需要。润滑油包装已从标准化的各种类型如200L~20L的大、中、小桶的不同材质容器到容量仅为13~14mL,专门为小型仪器和家庭使用的挤压式塑料软管包装。润滑油包装技术受到了润滑油制造商和销售商的普遍重视,从而得到不断的改进和发展。

一、润滑油包装容器的发展
润滑油包装容器的发展是一个由大到小,由型式多样化到统一标准化的过程。早期润滑油的包装容器只是一些大、中型木质桶,只考虑方便运输与保存产品。20世纪30年代,随着生产技术发展,润滑油产量增加,其包装容器也随之改进,由木质桶改进为开口钢桶,钢桶的容积为181kg和54.5kg两种。此后润滑油制造商为适应用户的需要,使用了不同尺寸的小包装容器,如15.9kg、2.3kg、0.45kg等小钢桶包装。20世纪70年代中后期,除钢桶包装外,又出现了塑料容器。因这类容器易受温度变化影响,低温下易变脆受损,温度稍高又会出现变形并导致强度下降,从而影响运输,因此其使用受到一定制约。20世纪80年代末90年代初,国内外出现新一代塑料包装容器即注塑桶,它既有钢桶的坚固性,又具有塑料的可塑性。现今已在包装容器中占有一定的比率,使用较为广泛。
20世纪70年代初,为适应使用部门的要求,包装容器逐步纳入标准化的规范,各国均制订了大、中、小型各类容器的标准,但还不能解决普遍存在的问题,仍有部分产品的包装使用非标准化的容器。

二、润滑油的散装容器
散装润滑油首先是供应使用量大的用户,如钢铁企业的集中供油系统。因使用量大,采用传统的钢桶(204kg)包装时,运输不便,使用时钢桶内残留油量偏多(约为5%~6%),向集中供油系统加油时,也容易造成系统的污染。国外各大润滑油生产厂自20世纪60年代开始使用不同类型的散装润滑油罐车,如图1所示。

图1 散装油罐车
罐车是由3个锥形底的油罐组成,罐内有压缩空气驱动的随动板,罐底部装有油输送泵及出口阀,罐体有保湿层。罐车总容积有14平方米和18平方米两种,可由汽车拖运到各用户,这种将润滑油与产品输送相结合的方式是润滑油包装技术的一次重大改进,制造商与用户均能受益。这种罐车还有单气缸和双气缸驱动的型式(见图2、图3)。作为20世纪80年代中期出现的较大容积的拖车,一次可运送13.6~20.4吨润滑油。

图2 单气缸推动的油罐车

图3 双气缸推动的油罐车
润滑油散装容器还有其它的型式:圆筒可折桑的厚胶布袋、容积约为1~3立方米的轻便型方形金属罐。这类轻便型储罐可装在汽车上直接运送至用户。

三、润滑油小型包装容器
为了方便使用,润滑油的包装型式趋于小型化。小型包装容器一般是指1kg以下的包装。在美国及欧洲,小型包装容器主要用于包装小型仪器使用的或价格较贵的特种润滑油。已在市场上出售的有挤压式塑料软管包装。有55g、68g、110g及227g等不同规格,最小的包装为3~14g。
此外,还有专与加油枪配套使用的筒式包装。筒身为纤维质复式材料,内壁有防油衬里,筒一端为拉环式封盖。这类包装的最大容量是397~411g,容量与加油枪相匹配,也有100g、227g等规格。这类包装容器使用虽然方便,但运输时其外包装箱须防挤压。

四、润滑油包装型式发展趋势
1、美国及欧洲润滑油包装型式发展趋势
美国及欧洲的润滑油包装容器型式可以代表世界润滑油包装型式的发展动向。美国润滑油协会历年来均按年度统计美国及欧洲润滑油包装容器型式的分类。现将收集到的有关美国及欧洲润滑油包装容器型式分类的资料列于表1、表2。
表1 美国润滑油包装型式的分类(%)
项目 |
1997年 |
2001年 |
2005年 |
2010年 |
2013年 |
散装 |
|
|
|
|
|
>4000kg |
8.90 |
12.65 |
14.51 |
13.71 |
14.66 |
450~4000kg |
1.61 |
1.83 |
0.97 |
3.01 |
3.59 |
桶包装 |
|
|
|
|
|
大桶168~204kg |
39.41 |
53.95 |
20.19 |
24.60 |
26.53 |
中桶25~54.4kg |
22.08 |
17.37 |
16.25 |
15.93 |
14.83 |
方便桶15.9~24.9kg |
15.44 |
14.44 |
15.78 |
13.56 |
13.33 |
小桶0.5~2.4kg |
2.59 |
2.22 |
3.20 |
3.30 |
3.53 |
软包装 |
|
|
|
|
|
397~411g |
4.80 |
17.25 |
16.53 |
25.12 |
23.40 |
<397g |
0.17 |
0.36 |
0.31 |
0.68 |
0.58 |
合计 |
100 |
100 |
100 |
100 |
100 |
表2 欧洲润滑油包装型式的分类(%)
项目 |
2001年 |
2005年 |
2010年 |
2013年 |
散装 |
|
|
|
|
>4000kg |
11.22 |
9.91 |
8.32 |
13.49 |
450~4000kg |
0.05 |
0.06 |
0.08 |
3.40 |
桶包装 |
|
|
|
|
大桶168~204kg |
51.27 |
51.05 |
19.85 |
43.64 |
中桶25~54.4kg |
1.59 |
1.92 |
1.37 |
13.22 |
方便桶15.9~24.9kg |
24.94 |
20.65 |
23.70 |
21.45 |
小桶0.5~2.4kg |
6.50 |
11.42 |
10.16 |
6.88 |
软包装 |
|
|
|
|
397~411g |
3.97 |
4.49 |
5.96 |
7.82 |
<397g |
0.46 |
0.50 |
0.56 |
0.10 |
合计 |
100 |
100 |
100 |
100 |
从表1、表2可以明显地看出,美国及欧洲润滑油包装型式的发展趋势是:包装型式以散装、168~204kg大钢桶、15.9~54.4kg中型钢桶及0.5kg以下的软包装为主体;在多种包装型式中,向散装及小型软包装两种型式发展。美国润滑油包装散装型式从1997年以后增长速率很快,到2013年增长了8%,小型软包装从1997年的4.97%增加到2013年的23.98%,欧洲润滑油包装型式与美国有近似的趋势。
2、我国润滑油包装型式发展趋势
我国润滑油工业发展较晚,初期的包装容器是以200L钢桶为主。随着润滑油产量增大,品种增多,各工业部门的需求增加,包装型式也不断地改进。近年来我国润滑油包装型式的分类情况见表3。
表3 我国润滑油包装型式分类(%)
项目 |
2001 |
2003 |
2005 |
2007 |
2009 |
2011 |
2013 |
2015 |
2017 |
2019 |
散装>450kg |
|
0.16 |
0.23 |
1.36 |
0.82 |
2.85 |
4.16 |
1.92 |
6.75 |
3.57 |
大桶168~204kg |
54.96 |
53.93 |
50.25 |
46.95 |
38.42 |
38.63 |
23.53 |
31.55 |
30.18 |
20.89 |
中桶49.9~54.4kg |
2.78 |
6.12 |
3.96 |
0.61 |
2.67 |
0.89 |
6.16 |
0.98 |
0.94 |
2.00 |
方便桶15.9~24.9kg |
25.25 |
20.30 |
15.69 |
9.30 |
22.89 |
23.63 |
21.22 |
24.77 |
24.40 |
36.11 |
小桶2.4~4.1kg |
4.28 |
5.96 |
4.24 |
8.69 |
17.56 |
8.15 |
6.56 |
9.65 |
12.77 |
5.23 |
小桶0.5~2.4kg |
12.73 |
13.53 |
25.27 |
22.01 |
17.64 |
21.68 |
34.14 |
27.59 |
19.54 |
23.10 |
小包装<0.5kg |
|
|
0.44 |
1.07 |
|
4.17 |
4.23 |
3.54 |
5.43 |
9.01 |
合计 |
100 |
100 |
100 |
100 |
100 |
100 |
100 |
100 |
100 |
100 |
国内相关部门调查了15kg以下容量的润滑油包装材质,包括金属和非金属容器两大类型,统计结果见表4。
表4 我国润滑油包装容器材料情况(%)
项目 |
2013 |
2015 |
2017 |
2019 |
金属材料 |
52.97 |
54.03 |
54.05 |
39.73 |
非金属材料 |
47.03 |
45.97 |
45.95 |
60.27 |
合计 |
100 |
100 |
100 |
100 |
从表3可以看出,我国润滑油包装是以大型桶与方便桶为主,20世纪90年代为80%以上,21世纪初代起降止65%~70%,与欧洲80年代初相当,而欧洲散装型式所占比率较我国多。由表3的数据归纳我国润滑油包装型式发展形势的特点是:以168~204kg大桶、15.9~24.9kg方便桶、2.4~4.1kg小型桶及0.5~2.4kg小型桶为大宗,占全部比例的85%~90%;近10年来180kg大桶包装呈下降趋势,散装及小于0.5kg的小包装有较大增长;0.5~2.4kg的小型桶,增长较快。
从表4可以看出,近6年来由于塑料品种更新,出现新一代塑料制品,金属材料包装容器所占比率逐年下降,非金属材料包装容器已占有全部比例的60%左右。
从市场销售看,0.5~1.0kg小型包装都以软式塑料袋和外用纸箱保护。这类包装虽价格低廉,供应方便,但运输和储存时稍有不慎即易损坏。
使用加油枪的筒式包装仅在近几年才试制成功并在部分生产厂试用,但不普遍,向钢铁企业供应润滑油,还未能推广。与国外相比,我国的润滑油包装技术还有较大差距。

五、润滑油包装容器的标准化
随着润滑油产品应用的范围越来越广,品种越来越多,包装容器形状各异,无疑会增加包装容器种类和人工费用,因此促进包装容器的标准化工作十分必要。推行包装容器的标准化,对润滑油的生产厂和使用者都带来极大的方便。
1、国外包装容器的标准化
20世纪50年代中期至70年代初期,美国和英国的润滑油行业推行了包装容器的标准化。首先制订了180kg开口钢桶及54.5kg开口钢桶规范。包括桶的型式、材质、厚度及检验方法等。英国先后制订了钢桶和圆型桶标准,如BS2469、BS2003,标准的容器有15.9kg方便提梁桶、454g和2.3kg圆桶等。日本也制订出与之相当的标准JISA1620,这些标准还在不断地修订。
美国制订了411g小型包装的军用标准(NIL-C-22587A),对容器的材质、结构、使用性能等作出详细的规定。所有的容器标准都规定了各种容器的气密性和泄漏性的检测方法。
2、我国包装容器的标准化
1991年我国制订了两项国家标准,一是GB/T325-91,包装容器钢桶;二是GB/T13252-91钢提桶(又称方便桶)。这两个标准是我国首次公布制订的关于润滑油包装容器的标准。
GB/T325-91标准规定了钢桶的分类、技术要求、试验方法、检验规则、标志等要求,其中适用于润滑油产品使用的规格有200L、100L、80L、50L、25L,一般使用的是中型桶,材料厚度为0.5~1.2mm。
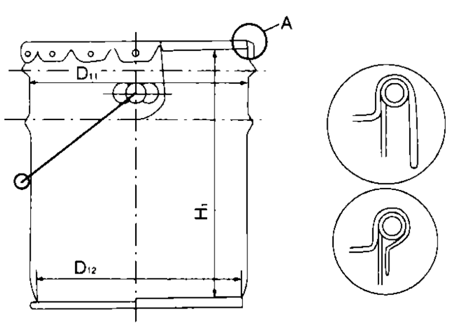
GB/T13252-91钢提桶(又称方便桶)中适合润滑油使用的是T型桶,如图4所示。

图4 润滑油包装容器T型钢提桶结构
GB/T13252-91标准包括标准容积分别为18L、20L、21L的三个规格,对钢提桶的质量有严格的要求。制桶时要做20kPa(表压)气密性试验、590N提梁拉环强度试验、1.2m跌落试验及1250N堆码负载试验等。
对于加油枪用复合材料筒式包装,近几年国内才开始有商品供应,使用还不普遍。

六、润滑油灌装机械发展现状
灌装设备的原理分为重量式及容量式两大类,灌装大容器如200L钢桶及20L钢提桶(方便桶)是采用称重式(用电子计重器执行)半自动灌装机械。小容器如0.5~1.0kg或2.0kg容器的灌装,均采用容积式灌装机械。国外对小容积的软包装已使用全自动包装机,采用气动传动,微机控制,灌装线与润滑油储罐连接,连续完成计量填充、封口、打印生产日期及装箱等工序,有的生产厂是使用半自动化灌装机械。这两种灌装方式生产效率均很高。

七、结束语
美国及欧洲的润滑油包装容器型式可以代表世界润滑油包装型式的发展动向。散装罐车、小型软包装和加油枪同筒式包装今后将占更大的比例。
国际上于20世纪70年代就已完成了润滑油包装容器的标准化工作,而我国从90年代初才开始制订相应的包装容器标准。预计我国今后各类润滑油包装容器的标准化工作将会有更大的进展,但由于润滑油品牌众多,使用广泛,还会有一定比例的非标准容器存在。
我国润滑油包装型式还处在发展阶段。当前润滑油包装容器型号不一,材质类型良莠不齐,2.0kg以下的包装材料尤其繁杂,给生产和使用带来诸多不便,易造成产品的污染和损耗。对这类小包装型式和包装材料的改进将是今后润滑油包装技术的重要发展方向。
|