|
制桶工(中级技能培训教程)
第一章 常用制桶设备和操作技术
第三节 桶身整形
在制桶生产中我们把桶身直缝焊接后进行的板边、波纹、涨筋三个岗位归结为桶身整形工序。桶身整形是通过桶身形状的变化而达得增强刚度、减少变形的目的,并为后续工序——卷边作好准备。
扳边是在桶身两端向外与桶身垂直扳出一圈凸椽,以便与顶底盖配合后作卷边加工。扳边的质量直接影响卷边的质量。波纹是在桶身壁上滚轧成预定形状的加强筋,目的是增强桶的刚度。涨筋是在桶身壁上挤压出向外凸出的环形加强筋,其凸起程度要比波纹大得多,它除了增强倒度外,还具有便于滚动装卸搬运的作用。
桶身整形常用的设备是扳边机、波纹机和涨筋机,其间又有专用输送机构相联接。
1.3.1 桶身整形设备的基本结构和传动系统
一、扳边机
扳边机是一种制桶专业机械设备,是利用扳边胎具与机械传动机构来完成加工过程的。其成形尺寸和质量由扳边胎具保证,一次成形,即经过扳边后,桶端边缘不再作其它机械加工,就能获得我们所需要的扳边形状和尺寸。
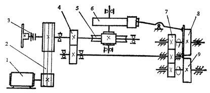
扳边机的基本结构和传动系统如图1-34所示。

图1-34 扳边机
1-电机;2-带传动;3-离合器;4-齿轮传动;5-蜗轮蜗杆传动;
6-凸轮机构;7-传动齿轮;8-上滚;9-下滚
扳边机的传动由动力源——电机经齿轮传动出发分为两路。一路经蜗轮蜗杆减速后带动操纵上滚运动轨迹的凸轮机构,该凸轮机构控制上滚下压摆动和滚压凸缘;另一路经齿轮传动将动力传递给上、下扳边滚轮的主轴,使其在上滚压下的同时两个滚轮作相反方向的转动。
图1-35所示是扳边机工作部位的结构。当钢桶桶身由输送链送入扳边机,滚到扳边中心位置时,离合器合上。上滚在凸轮机构的驱动下不断下压,同时上、下滚轮在主轴带动下转动,带动桶身作快速旋转。上滚在下压的同时,在凸轮机构的驱动下还具有一个轴向分运动i。上滚的进给使桶端压出所需的扳边形状。扳边完成后,上滚在凸轮机构操纵下抬起,扳好边的桶体由打桶机构推出,送进波纹机。扳边机也有采用机械挤压或者液压及偏心滚压成形的。这里不予介绍。

图1-35 扳边机工作部位结构
1-上滚主轴;2-上滚;3-桶身;4-扳边形成的凸缘;5-下滚主轴;6-下滚
二、波纹机
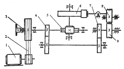
波纹机与扳边机基本相同。只是波纹机仅将动力传递给下滚轴,而上滚只是在摩擦力作用下作被动转动,这主要是由滚轮的接触面积以及上滚的作用决定的。波纹机的基本结构和传动系统如图1-36所示。

图1-36 波纹机
1-电机;2-带传动;3-离合器;4-齿轮传动;5-蜗轮蜗杆传动;
6-凸轮机构;7-传动齿轮;8-上滚;9-下滚
桶身送入波纹机,滚到中心位置时,离合器合上。上滚在凸轮机构驱动下压向桶身,同时下滚在主轴带动下转动并在压力产生的摩擦力作用下带动桶身和上滚一起旋转。上滚继续下压,进行波纹压制。有些波纹机的上滚不是靠凸轮机构驱动的,而是用一个气缸来完成它的落下和抬起的动作。成形后,上滚抬起,打桶机构将桶身推出并送入涨筋机。
三、涨筋机
涨筋机也是制桶专业机械设备。它是运用斜面机构使成形涨块径向伸出,在桶壁表面向外挤压出突起的环形筋。在挤压过程中,棍身固定套在涨筋架上,静态挤压。斜面的运动是利用曲轴将匀速旋转运动转换成匀速直线往复运动而实现的。涨筋机的基本结构和传动系统如图- 37所示。

图1-37 涨筋机
1-电机;2-带传动;3-离合器;4-齿轮传动;5-曲轴;6-弓形块;7-楔形涨环
桶身自输送机构送入涨筋机,离合器合上。电机将动力通过带传动和齿轮传动减速后传递给曲轴。曲轴将转动转变为直线往复运动,并带动楔形块运动。弓形涨环在斜面上滑动,向外挤出,在桶身上挤压出我们需要的环筋。涨筋机工作部位的构造如图1-38所示。模形块在向前运动过程中,弓形涨块在垂直方向的滑槽内向外挤压。楔形块固定在主轴上,随曲轴的转动作前后往复运动。弓形涨块由拉簧沿整个圆周箍住,当楔形块后缩时,它在弹簧作用下复位。

图1-38 涨筋机工作部位构造
四、输送机构
桶身整形工序的输送机构是形成上述三机联动的扭带。主要有下面三类: (1) 进料输送链;(2) 打桶机构;( 3 )涨筋输送机构。
1、进料输送链
采用带输送杆的套筒滚子链传动,其传动系传如图1-39所示。其负责将焊接好的桶身送入扳边机。从平地送入扳边机需有一个上坡过程,而且必须与扳边机加工的节拍协调,所以必须严格掌握它的运行速度。输送链的输送高度也要设置恰当,要使桶身离开输送链后正好跌落在扳边机的工作部位。

图1-39 进料输送链
2、打桶机构
其主要作用是将加工后的半成品推出工位并进入下一个工位。桶身整形的三台设备都装有打桶机构。打桶机构一般采用气缸带动的摇臂机构,但也有采用机械传动的连杆摇臂机构的。前者结构简单,控制也方便;后者结构较复杂,但与工作机联动,控制可靠。
3. 涨筋输送机构
涨筋机与前两台设备不同,它不但需要左右输送,而且还需要前后输送,所以必须另有一套输送机构。涨筋输送机构是采用气缸及其带动的输送架构成的。由这样一个输送机构来完成桶身的前后往复输送动作。
|