制桶工艺学
第七章 冲压
第一节 冲压设备和工艺
7.1.1 冲压设备
一、冲床
3. 冲床的基本结构
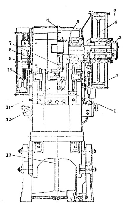
制桶生产中广泛采用开式双柱可倾冲床,吨位在25~100吨,和闭式单点冲床,吨位在160~250吨,除了某些床身、离合器等不同外,其主要结构部件基本相同。因此,我们就以J23-40型压力机为例加以讨论,说明各主要部分的名称、用途。如图7-4所示。


图7-4 J23-40型压力机总体结构
1-保险器;2-大齿轮;3-离合器;4-轴承;5-曲轴;
6-润滑系统;7-连杆;8-制动器;9-调节螺杆;10-皮带轮;
11-滑块;12-照明灯;13-螺柱;14-床身;15-电器箱;
16-小齿轮;17-传动轴;18-操纵机构;19-踏脚板
保险器1。是压力机的过裁保护装置,冲压过程中若冲压力越过公称压力,该装置即被破坏,达到保护压力机的目的。
大齿轮2。将小齿轮的动力传给曲轴,带动滑块完成冲压行程,并具有蓄能的飞轮作用。
离合器3。主要是使曲轴与大齿轮接合或分离,从而使压力机冲压或停冲。
轴承4。是曲轴旋转的支承点。
曲轴5。曲轴的主要作用是将大齿轮的旋转运动经曲柄连杆机构改变为滑块的往复运动。
制动器8。用于离合器分离后瞬时阻滞曲轴(包括滑块)的惯性,使期准确地停在上死点的位置上。
调节螺杆9。是调节压力机闭合高度的部件。
皮带轮10。电动机的动力通过大小皮带轮减速后,传给传动轴。
滑块11。用以安装上模,并将冲压力传递到工件上。
螺柱13。是调整压力机倾斜角的部件。
床身14。是冲床的主体,用以安装压力机的各个部件,如曲轴、滑块、传动轴等。床身正面左右两条平行的导轨之间,有滑块上下运动,完成冲压行程。
小齿轮16。将传动轴的动力以相反的转向传给大齿轮。
操纵机构18。是控制离合器接合、分离的机构.
下面选择压力机的典型部件,阐明其结构和工作原理。
(1)离合器。常用于冲床的有转键式和摩擦式两类离合器。
①转键式刚性离合器。在J23系列冲床中广泛采用转键式刚性离合器。其结构和工作原理如图7-5所示。转键式刚性离合器工作灵活性和稳定性较高。因为离合器的中套内有4个沿圆周等分的键销孔,所以从曲轴回转角的20°起,到110°、200°、290°4个位置均可进行接合和分离的操纵。其缺点是曲轴上两个半圆形键槽加工比较困难,行程次数也不宜过高,否则接合时的工作稳定性将会受到影响。

图7-5 转键式刚性离合器结构
(a)离合器分离状态;(b)离合器接合状态;
(c)离合器分离时轴端连接板位置;
(d)离合器接合时轴端连接板位置
②气动摩擦片离合器。图7-6所示是J31系列冲床采用的气动摩擦片离合器,其结构和工作原理如图所示。这类离合器与刚性离合器相比,结构比较复杂,其特点是接合、分离的操作能适应较高的压力机行程次数,不受曲轴旋转角度的影响,也就是说可以使滑块在任何位置上都可以停止,故对人身安全和设备保护更有效。副制动盘左侧为制动器部分,右侧为离合器部分。当离合器要接合时,压缩空气由回转接头16经内孔15进入离合器气缸,推动活塞7向右移动,使摩擦块6与飞轮紧贴而产生摩擦力,带动传动轴2的右端小齿轮,由小齿轮传动大齿轮和曲轴,使压力机工作。离合器和制动器是刚性联锁的。当离合器接合时,活塞向右移动,使副制动盘10克服弹簧11的压力与摩擦块9脱开而失去制动作用。反之,活塞7向左移动,在离合器摩擦块与飞轮脱离瞬间,副制动盘也向左移动,在弹簧的作用下,使摩擦块9与制动盘13即刻贴紧,产生制动作用,曲轴连用滑块产即停止运动。

图7-6 气动摩片离合器
1-螺钉;2-传动轴;3-卸荷套;4-飞轮;5-摩擦块保持器;
6-离合器摩擦块;7-活塞;8-锥面密封圈;9-制动器摩擦块;
10-副制动盘;11-制动弹簧;12-紧固螺母;13-制动盘;
14-联锁套;15-传动轴内孔;16-回转接头

(2)制动器。在J23系列冲床采用常合带式制动器,其结构与裁剪机的制动器相仿。其主要作用是利用制动盘和曲轴之间的偏心距阻滞曲轴的自由转动,配合离合器实现周期性运动。当曲轴由上止点开始转动10度左右后,制动盘和摩擦带之间产生摩擦力,使曲轴在运转过程中受一定的阻力,从而抵消曲轴本身的惯性力矩。摩擦力的大小可由制动弹簧调整,弹簧压紧摩擦力增大,弹簧放松则摩擦力减小。
(3)滑块。滑块部分的结构如图7-7所示,其作用是将曲轴的旋转运动通过连杆的过渡,转变为滑块的往复运动,将冲压力传递到工件上。为了防止压力机超载,在滑块球形垫下面装有保险器6。保险器的抗压强度是经过理论计算与实际试验决定的。当压力机的负荷超过公称压力肘,保险器被破坏,而压力机不受损坏。

图7-7 滑块
1-连杆;2-调节螺杆;3-滑块杆;4-推料器;
5-球形垫;6-保险器;7-锁紧机构