|
《包装设计制作工艺与检测技术标准实用手册》
第六篇 包装机械
第四章 封口机械
第二节 封袋机
(一)手压式和脚踏式封口机
这是两种常用且简单的封口机,其封合方法一般采用热板加压封合或脉冲加压封合。
手压式塑料袋封口机(图6-4-1)外型袖珍轻巧,放在桌上或柜台上使用,占地方少,携带方便。操作时只需轻按把手,自动瞬间通电,完成封口。
该机不用电源开关,只要把交流电源线插入插座,根据封接材料的厚度,调节定时器旋钮,确定加热时间。然后将塑料袋放在封接面上,按下手柄,指示灯亮,电路自动控制加热时间,时间到后指示灯熄灭,电源被自动断开,约1~2s后放开手柄,即完成塑料袋的封口。
图6-4-1 手压式塑料袋封口机
1—手柄;2—压臂;3—电热带;4—指示灯;5—定时旋钮;6—外表
脚踏式塑料袋封口机(图6-4-2)与手压式塑料袋封口机的原理基本相同,其不同之处是采用脚踏的方式压下压板。操作时双手握袋,轻踩踏板,瞬间通电完成封口。该封口机可以采用双面加热,以减少热板接触面与薄膜封接面间的温差,提高封接速度和封口质量。有些脚踏式封口机还装有自动控温装置,使封口温度可调,有些还配有印字装置,在封口的同时可以印出生产日期、重量、价格等。有些脚踏封口机的工作台面可以任意倾斜,以适应封接包装液体或粉状物体的塑料袋。
图6-4-2 脚踏式塑料袋封口机
1—踏板;2—拉杆;3—工作台面;4—下封板;5—上封板;6—控制板;7—立柱;8—底座
(二)自动连续环带式封口机
这是一种结构较复杂自动化程度较高的封口机,其封合方法采用环带热压封合。
该类机可对各种热粘薄膜如聚乙烯、聚丙烯、防湿玻璃纸及各种复合薄膜进行自动连续封口。它既可单机使用,也可按置在包装线中自动完成封口工序。封口速度一般在0~13m/min(可调),封口长度不受限制,封口宽度通常为4~16mm,封口厚度为0.01~0.8mm,热封温度范围0~300℃。温度可以预选。这类封口机可应用于食品、制药、日用化妆品、土特产、化工、电子元件等部门。
图6-4-3 环 带式热压封合原理图
1—压花印字轮;2—封口带;3—被动轮;4—加热块
5—冷却块;6—主动轮;7—导向橡胶带;8—导向轮
自动连续封口机有卧式、立式、落地式三大类型,尽管它们的结构形式不同,但其工作原理基本上是一样的,都采用环带式热压封合原理。如图6-4-3所示,其基本工作原理是一对相向转动的环形薄带(带可是钢带、不锈钢带、尼龙编织带或聚四氟乙烯带)夹着将要封口的薄膜袋同步移动。在运行过程中,环带与其内侧设置的预先调定了温度和压力的加热块4接触,从而使夹在环带之间的两层塑料薄膜热压粘合。然后环带再与设置在其两内侧的冷却块5接触,使封口冷压定型。
1.落地式塑料薄膜自动封口机(图6-4-4)
环带式热压封口器1是完成薄膜袋密封封口的主要部件,它的全部元件安装在一个箱形结构的框架上,整个装置固定在落地支架的后部。
热封环带与塑料薄膜接触的一面可喷涂聚四氟乙烯,以防止热封时塑料薄膜与环带粘接。
图6-4-4 落地式自动封口机
1—环带式热压封口器;2—加热块;3—传送装置;4—落地支架
5—冷却块;6—滚花压字轮;7—电气控制装置
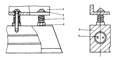
加热块(图6-4-5)是采用在铜质热封板内安装管形电阻丝加热器,管形加热器把电阻丝密封在一个金属管中心,将其周围空隙紧密地充填具有导热性和绝缘性结晶的氧化镁粉末。管形加热器与热封板采用滑动配合,并用止动螺钉固定,从而实现良好的接触加热。加热块共2个,对称安装在上、下环带的内侧,并与夹持薄膜的环带接触,使通过其间的薄膜热熔粘合。
图6-4-5 加热块结构简图
1—固定板;2—调节螺钉;3—加压弹簧;4—紧定螺母;5—铜质热封板;6—电热管
除上管状电阻丝加热器外,其他类型的加热器也可选用,这要根据封口的实际需要及设计机器的结构来确定。
冷却块是带有散热片的铜质散热板,也是上、下2块,分别安装在上、下环带的内侧,并与环带接触。工作时,风扇送出冷风使刚热合的薄膜的余热通过散热片散失,从而使薄膜冷却定型。
上下加热块,冷却块及上下压花印字轮均可通过相应的调节螺栓调整上、下两件之间的间隙,适应不同厚度薄膜的封口,保证热封质量。
传送装置固定在支架上,用以支撑和输送薄膜袋,其传送带的速度应与热封环带及滚花轮外圆的线速度相等,从而保证封口时薄膜的封接部分(袋口)与支撑部分(袋底)同步运行,使封口质量达到满意的效果。
电气控制盒一般安装在环带式封口器的上方,内装调带器、温控器等元件,对封口机的运行速度和热封温度进行调控。
落地支架是全机的支撑部分。当封口机需要与配套的包装流水线高低一致或为了适应不同长度的包装袋,可在大幅度范围内调整整机的高低。支架的底部装有4只小脚轮,可根据需要任意移动封口机的位置,然后再旋动4个调整头将小脚轮抬离地面以固定机器,落地支架采用型钢组装而成,故结构简单。
2.卧式塑料薄膜自动封口机(图6-4-6)
该机与落地式封口机的不同之处是卧式封口机用输送台代替了落地支架。卧式封口机体积较小,可放在桌上、柜台上或其他工作台上使用。主要用于包装食品、药品、电子元器件等干燥体物品。
图6-4-6 卧式塑料薄膜自动封口机
1—输送带;2—防护罩;3—花纹压力调节器;4—冷却块;5—控制面板
6—加热块;7—封口带轮;8—输送台;9—输送台高度调节钮
3.立式塑料薄膜自动封口机(图6-4-7)
该机环带式热压封口器与前两种机呈90°安装,使得包装袋可以直立在输送带上进行封口。因此,这种封口机主要用于内装物不能平放的塑料袋的封口,例如:液体、膏体和滚动的颗粒等,这些产品必须用立式封口机完成封口。
图6-4-7 立式塑料薄膜自动封口机
1—控制右板;2—支架;3—高度调节;4—输送台支架;5—输送台;6—花纹压力调节钮
返回目录页
|