|
《包装设计制作工艺与检测技术标准实用手册》
第六篇 包装机械
第四章 封口机械
第三节 封瓶机
一、封瓶形式
封瓶机适用于口部直径小于38mm的细口容器。封瓶机的分类一般以瓶盖形式为依据,不同形式瓶盖的封瓶机有不同的类型,而不同类型的机器又具有不同的特性。本节将着重介绍封瓶机的工作原理、设备举例及生产厂家。
(一)压盖封瓶〔图6-4-13(1)〕
用皇冠形圆盖的波纹形周边连接瓶子所形成的封口,称为压盖封瓶。这种封瓶,在瓶盖与瓶口端面之间衬有橡胶或软木制成的弹性密封垫片,变形后对瓶内产品起密封作用;卡在瓶口凸缘下端面上的瓶盖波纹形周边,通过瓶盖牢固的连接,使密封作用得以维持。
压盖封瓶密封可靠,易于启封,是盛装含碳酸气液体饮料———啤酒、汽水和酒类用玻璃瓶容器包装时常见的封瓶形式。
图6-4-13 封瓶形式
(1)压盖封瓶;(2)滚纹封瓶;(3)旋盖封瓶
(二)滚纹封瓶〔图6-4-13(2)〕
通过套住瓶口上的特制铝盖,用滚压出与瓶口螺纹形状完全相同的螺纹的密封方法,称为滚纹封瓶。由于启封时,铝盖将沿着裙部周边预成型的压痕断开,所以称这种封瓶的盖子为扭断盖;又由于这种封瓶便于识别启封与否,因此又把这种盖子称为“防盗盖”。
这种封瓶用的钮断盖,在设计上有二种形式。一种只在裙部圆击方向上压印一定深度的痕迹,封瓶后,只要沿与螺纹相反的旋向施加一定的转动力矩,瓶盖即沿周边压痕扭断,但压边环仍套在瓶颈上,使瓶子回收使用不便;另一种新设计的铝盖,在裙部的周向和轴向都有压痕,启封后,压边环沿周向和轴向压痕自行断开,便于旧瓶的回收使用。
滚纹封瓶不仅具有密封严密可靠、启封方便、包装外形美观等优点,而且,由于能识别瓶内产品是否用过,所以特别适用于盛装像葡萄酒、白兰地等高档酒类玻璃瓶的封瓶,也常用于像可乐之类饮料塑料瓶的封瓶。
(三)旋盖封瓶〔图6-4-13(3)〕
瓶盖与容器以螺纹连接方式形成的封瓶,称为旋盖封瓶。这种封瓶是靠旋转瓶盖时,通过盖底与瓶口之间的密封垫或置于瓶口内的瓶塞产生弹性变形,来得密封连接的。
旋盖封瓶也中玻璃瓶容器常用的封瓶形式之一。特别适用于盛装不含碳酸气的果汁饮料和药品所用的穿口瓶。
(四)铝箔封瓶
铝箔封瓶主要是利用电磁感应的原理将瓶口上的铝箔片瞬间产生高热,然后熔合在瓶口上,达到封瓶功能。因此,铝箔封瓶又称电磁感应式铝箔封瓶。
铝箔封瓶主要适用于塑料瓶、玻璃瓶。可适用不同粘度的液、酱、膏状填充物。
二、封瓶机种类
由于封瓶形式有多种,所以封瓶机也有几种类型,按工作原理和所完成的封瓶形式可分为压力封瓶机、滚压封瓶机、旋合封瓶机和铝箔封瓶机。
图6-4-14 皇冠盖压力封瓶机
1—贮盖箱;2—磁性带;3—电磁振动给料器;4—供瓶装置
5—进出瓶拨轮;6—压盖转盘;7—压盖机头;8—吊瓶安全装置;9—宽皮带无级变速器
(一)皇冠压力封瓶机(图6-4-14)
图6-4-15所示为压盖机头压力封口的主要执行机构。其工作过程如下:瓶盖由供盖装置送到压盖机头的导槽定位,当瓶子输送到托瓶转盘上的封口工位时,随着压盖机头的下降,瓶子进入导向环10内,使瓶子与机头的中心对中,这时瓶子被套上一个盖子,随后压杆7在小弹簧3的作用下将盖子压向瓶口;由于压盖机头继续下降,紧压在瓶口上的瓶盖逐渐进入压瓶模9的圆锥形空腔内,此时大弹簧2通过压盖模向瓶盖的四周施加压力,迫使皇冠盖的周边产生变形,并逐渐向瓶口收缩,最后扣在瓶口下部的凸缘处,使瓶盖和瓶口牢固地连接在一起而形成密封性封口;随后压盖头上升,在小弹簧3的作用下压杆7将压盖后的瓶子从压模中推出,从而完成压盖封瓶工作。
图6-4-15 压盖头
1—调节杆;2—大弹簧;3—小弹簧;4—导套;5—导筒
6—外螺套;7—压杆;8—内螺套;9—压盖模;10—导向环
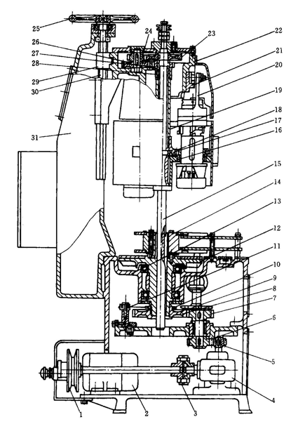
(二)扭断盖滚压封瓶机(图6-4-16)
滚压螺纹封瓶形成的过程大致如下:当铝盖套在瓶口上时,首先通过压盖给铝盖施加一定的压力,使瓶盖和瓶子在滚压过程中不发生相对运动。接着旋转着的螺纹成形滚轮同时向铝盖移进,进行滚压。其中螺纹成形滚轮在铝盖的外圆柱面上滚压出与瓶口螺纹形状相同的螺纹,使铝盖产生永久变形,与瓶口的螺纹完全吻合;旋转着的封边成形滚轮则滚压铝盖的裙部,使其周边向内收缩,并扣在瓶口螺纹下沿的端面上,然后螺纹成形滚轮和封边成形滚轮离开铝盖,压盖头上升,从而完成一次工作循环。
图6-4-16 扭断盖滚压封瓶机结构图
1—皮带无级变速器;2—电动机;3—联轴器;4—蜗轮减速器 5、6、7、8—齿轮
9、10—链轮;11—张紧链轮;12—托瓶转盘;13—机座;14—中心拨轮;15—主轴
16—滚压机头座 17、18—齿轮;19—空心轴 20—滚压机头 21—圆柱凸轮 22—机身
23、24、26、27、28—齿轮 25—手轮 29—螺母 30—螺杆 31—立柱
(三)塑料盖旋合封瓶机
在自动灌装线中,它用以对已灌装好的酒类(如白酒、果酒)、饮料的玻璃瓶容器,用塑料盖旋合封口。
本机旋盖工作所需的螺旋运动,通过灌装瓶固定不动,瓶盖既转动又作轴向直线运动的方法来实现。旋盖的工艺过程如图6-4-17所示。主要过程如下。
1.取盖〔图6-4-17(1)〕
此时要求旋盖爪夹头不转动,右半爪夹头1下降至供盖位置取盖。
2.捉盖〔图6-4-17(2)〕
旋盖爪夹头不转动,右半爪夹头2快速下降至供盖位置,与右半爪夹头一起将盖4捉紧。
3.对中〔图6-4-17(3)〕
旋盖爪夹头不转动,两半爪夹头将盖4转至旋盖工位,并置于瓶口3上方,要使瓶体与机头中心相互对中。
4.旋盖〔图6-4-17(4)〕
两半爪夹头开始旋转,并同时下降,将瓶盖4旋紧在瓶口上。
5.脱瓶〔图6-4-17(5)〕
两半爪夹头停止旋转,并先后上升与瓶盖4脱离。
6.复位〔图6-4-17(6)〕
旋盖机头恢复到起始位置,即右半爪夹头1又下降至取盖位置〔图6-4-17(6)〕。
图6-4-17 旋盖工艺过程图
1—右半爪夹头;2—左半爪夹头;3—瓶体;4—瓶盖
返回目录页
|