钢桶包装用户手册
杨文亮 辛巧娟 编著
第一章 钢桶概述
第四节 钢桶的结构和基本尺寸
四、开口柱锥形钢桶的结构和尺寸
图1-15为欧洲标准开口柱锥形钢桶的结构。表1-18为开口柱锥形钢桶的尺寸系列。

图1-15 开口柱锥形钢桶结构图
表1-18开口柱锥形钢桶尺寸系列(单位:mm)
| 尺寸符号 |
项目说明 |
公称容量 |
200L |
215L |
H |
桶外高 |
980±5 |
1000±5 |
d |
桶盖最大外径 |
585±2 |
585±2 |
d1 |
桶口内径 |
560±2 |
560±2 |
d2 |
桶底内径 |
515±2 |
515±2 |
d3 |
桶底最大外径 |
520±2 |
520±2 |
h |
环筋距桶口距离 |
55±2 |
55±2 |
h2 |
下柱锥距桶底距离 |
100±2 |
100±2 |
a |
桶口卷管外径 |
8±0.5 |
8±0.5 |
b |
环筋底部圆角 |
4±1 |
4±1 |
c |
环筋高度 |
6±1 |
6±1 |
e |
桶底透气孔直径 |
4 |
4 |
f |
桶顶深 |
15±0.5 |
15±0.5 |
g |
桶底盖深 |
16±0.5 |
16±0.5 |
五、嵌入式法兰封闭器的结构和尺寸
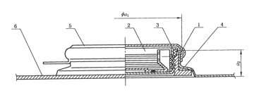
● 嵌入式法兰封闭器装配结构和尺寸。该型封闭器在钢桶上应用最为广泛,大多数的闭口钢桶都是采用这种封闭器,这已经成为国际标准产品。图1-16为嵌入式法兰封闭器装配结构图。表1-19为嵌入式法兰封闭器装配尺寸。

图1-16 嵌入式法兰封闭器装配结构图
1-法兰;2-桶塞;3-垫圈;4-衬圈;5-封盖;6-桶顶
表1-19嵌入式法兰封闭器装配尺寸(单位:mm)
| 规格 |
a1 |
a2 |
G2 |
68.5±0.50 |
13.5±0.50 |
G3/4 |
34±0.50 |
11.5±0.50 |
G4½ |
129.5 |
14.5 |
● 法兰的结构和尺寸。法兰是利用模具锁压装配在桶顶上的构件,其结构如图1-17所示,尺寸系列如表1-20所示。

图1-17 法兰结构图
表1-20 法兰的规格尺寸系列(单位:mm)
| 规格 |
a |
b |
c |
e |
f |
g |
R |
d1 |
G2 |
62.3 |
60.4 |
10.2 |
18.7 |
77.8 |
82.1 |
12 |
符合管螺纹标准 |
G3/4 |
29.0 |
27.2 |
8.6 |
15.7 |
43.5 |
46.2 |
4 |
G4½ |
123.6 |
121.4 |
10 |
20 |
141 |
150 |
- |
● 桶塞的结构和尺寸。G2桶塞有四焊点和六焊点两种结构、G3/4为二焊点结构、G4½ 多为外六边形螺栓标准结构。桶塞结构如图1-18所示。桶塞尺寸系列如图1-21所示。

图1-18 桶塞结构图
表1-21 桶塞规格尺寸系列(单位:mm)
| 规格 |
P1 |
P2 |
P3 |
b |
t1 |
d1 |
G2 |
61.5 |
56.0 |
15.4 |
3.5 |
1.2 |
符合管螺纹标准 |
G3/4 |
28.4 |
22.9 |
13.6 |
3.2 |
1.2 |
G4½ |
127.0 |
114.7 |
18.0 |
4.0 |
1.2 |
● 封盖结构和尺寸。封盖是安装在嵌入式法兰封闭器最外边的盖子,一般由用户灌装完货物后用封口钳封上去的,它对封闭器起着防水作用,也起着防盗作用,所以也有人叫它防水盖、保险盖或防盗盖。图1-19为封盖结构图。表1-22为封盖规格尺寸系列。

图1-19 封盖结构图
表1-22 封盖规格尺寸(单位:mm)
| 规格 |
d |
d1 |
H |
h |
δ |
G2 |
69.4 |
63.0 |
11.0 |
2.5 |
0.28 |
G3/4 |
34.7 |
30.0 |
9.0 |
1.5 |
0.28 |
六、其它钢桶封闭器的结构和尺寸
● 旋盖型封闭器的结构和尺寸。旋盖型封闭器由螺纹盖、颈口和塑料或橡胶内垫组成,常用于小容量钢桶的密封。其结构见图1-20所示,尺寸见表1-23所示。

图1-20 旋盖型封闭器结构图
表1-23 旋盖型封闭器尺寸系列(单位:mm)
| 螺纹盖 |
颈口 |
D |
d |
H |
D |
d |
d1 |
45.0±0.3 |
43.3±0.3 |
13.0±0.3 |
44.1±0.3 |
42.1±0.3 |
33.5±0.3 |
55.0±0.3 |
53.3±0.3 |
13.5±0.3 |
54.1±0.3 |
52.1±0.3 |
42.0±0.3 |
● 揿盖型封闭器结构和尺寸。揿盖型封闭器由按盖和颈口组成,常用于小容量钢桶密封。其结构如图1-21所示,尺寸如表1-24所示。

图1-21 揿盖型封闭器结构图
表1-24 揿盖型封闭器尺寸系列(单位:mm)
| 按盖 |
颈口 |
d1 |
d2 |
H1 |
H2 |
d1 |
d2 |
d3 |
H1 |
H2 |
42.7 |
39.7 |
8.6 |
7.7 |
48 |
46 |
41 |
5.3 |
10.3 |
50.5 |
47.6 |
9 |
8 |
56 |
54 |
49 |
5.5 |
9.6 |
53.2 |
50 |
9.8 |
8.2 |
58.7 |
56.5 |
51.8 |
5.8 |
9.4 |
● 压塞型封闭器结构和尺寸。压塞型封闭器由塞子和桶口组成,多用于薄壁小型钢桶密封,其结构、尺寸见图1-22和表1-25。

图1-22 压塞型封闭器结构图
表1-25 压塞型封闭器尺寸系列(单位:mm)
| 塞子 |
桶口 |
δ |
H |
D |
d |
D |
d |
H |
δ |
0.4 |
10.2 |
66.0 |
56+0.12 |
56+0.02 |
52.0 |
11.0 |
0.4 |
0.5 |
10.3 |
66.0 |
56+0.14 |
56+0.02 |
52.0 |
11.0 |
0.5 |
● 螺栓顶压式封闭器。螺栓顶压式封闭器由盖、三角圈、垫圈、三角、螺栓和螺母组成,其装配结构及尺寸分别见图1-23和表1-26所示。

图1-23 螺栓顶压式封闭器装配结构图
表1-26 螺栓顶压式封闭器主要尺寸(单位:mm)
| 盖 |
三角 |
垫圈 |
螺栓 |
d |
h |
D |
a |
b |
116 |
15.5 |
148 |
7.5 |
6.5 |
M10 |
● 封闭箍式螺杆型封闭器。封闭箍式螺杆型封闭器由封闭箍、紧耳、螺栓、螺母组成,其结构、尺寸见图1-24和表1-27。

图1-24 封闭箍式螺杆型封闭器结构图
表1-27 封闭箍式螺杆型封闭器尺寸系列(单位:mm)
| d |
螺栓 |
钢板厚度 |
适用范围 |
12.0 |
M10 |
1.5~2.0 |
200L~100L |
10.0 |
M8 |
1.2~1.5 |
80L~45L |
8.0 |
M6 |
1.2~1.5 |
<45L |
● 封闭箍式杠杆型封闭器。封闭箍式杠杆型封闭器由封闭箍和杠杆组件组成,其封闭箍的尺寸与用途与封闭箍式螺杆封闭器基本相同,多数用于盛装轻型货物包装桶。结构及主要尺寸见图1-25所示。

图1-25 封闭箍式杠杆型封闭器结构图
1-拉手;2-连接片;3、4-扁圆头铆钉;5-安全板
● 机械咬口型封闭器。机械咬口型封闭器由桶盖和桶口组成,它的密封方式与钢桶的桶身与桶顶底卷封装配方式基本相同,一般适用于中开口的闭口桶。多用于盛装危险性货物的一次性使用出口包装桶。如图1-26为机械咬口型封闭器的结构图。

图1-26 机械咬口型封闭器结构图
● 法兰式螺栓紧固型封闭器。该封闭器由桶盖、垫圈、螺栓、螺母等组成,桶顶内部的螺母是直接将螺母凸焊于桶顶上。这种封闭器一般适用于中开口闭口桶选用。其结构如图1-27所示。

图1-27 法兰式螺栓
返回目录